分立元件組成的烙鐵電路
2010-02-27 09:47:25
2094 
空調是滿足汽車舒適性要求不可或缺的配置,用作車內制冷、取暖、通風換氣,而且舒適的駕乘環境也關乎行車安全。而自動空調比傳統的手動空調更方便,可根據用戶設定的溫度自動檢測和調節,讓車內的溫度和濕度處于設定范圍之內。而且,自動空調還有助于節能減排,提升燃油經濟性。
2015-08-12 10:17:10
2632 
本套教程為BUCK電源的高級設計教程,用分立元件搭建,現場一步步設計,調試。全面剖析BUCK電源芯片的設計思路,是工程師們想搞透BUCK 電源芯片方案難得的一部教程
2019-04-17 10:09:21
13975 
壓縮機主要是依靠發動機通過帶動皮帶驅動,即使在發動機怠速時也能運作。而電動汽車由于沒有燃油發動機,空調壓縮機就需要用到電機進行驅動。 ? 同時,由于電動汽車的散熱需求較大,包括電池、電機、主驅逆變器、BMS等都需要進行散熱,
2024-06-21 09:07:09
14102 
MPS 2018 【深圳站】工業自動化和汽車電源技術研討會講義內容:汽車電子與領域新技術與新方案案例分享霍爾效應位置編碼器與電機驅動基本原理及典型案例DCDC的EMI原理及對策DCDC電源技術趨勢及COT控制技術原理MPS的DCDC電源技術面臨三大挑戰:封裝的限制,管腳數量決定了IC的Die不能再小
2019-04-03 16:02:59
都離不開電機,而且,隨后汽車電子化程度的提升,自動駕駛及智能化的進展,電機在車中的應用會越來越多,電機的類型的驅動也在發生著變化。之前汽車中的大多數電動機都采用標準的12V汽車系統,現在,雙電壓12V
2019-09-18 09:05:04
描述該無刷直流 (BLDC) 電機參考設計通過使用后跟分立式絕緣柵極雙極晶體管 (IGBT) 半橋的 UCC27712-Q1 高側和低側柵極驅動器來控制汽車 HVAC(暖通空調)壓縮機。該
2018-10-22 10:13:29
節汽車座椅到天窗、車燈和空調系統。這些舒適性和必要性系統將根據乘客的喜好變得日益自動化和程序化。下文將介紹TI可幫助您在趨勢中保持領先并推動汽車車身電機創新的三種方式:1) 輕松集成車身電機驅動
2019-03-11 06:45:09
純分享帖,需要者可點擊附件免費獲取完整資料~~~*附件:汽車空調冷暖伺服電機雙面PCB板設計.pdf【免責聲明】本文系網絡轉載,版權歸原作者所有。本文所用視頻、圖片、文字如涉及作品版權問題,請第一時間告知,刪除內容!
2025-06-09 16:24:16
皮帶過松應給予調整,否則易使空調系統制冷不良。 檢查空調系統軟管接頭是否有油跡。如發現滲漏,及時去維修處解決。 ▲清潔冷凝器 在夏季使用空調時用水管對著冷凝器進行沖洗,因為汽車冷凝器表面的清潔便于使
2010-12-21 14:38:42
安全、節能、環保和智能已經成為汽車發展四個永恒的主題。空調器已成為汽車不可缺少的裝置,然而汽車發動機作為空調器的主要原動力,在行駛中空調器工作的同時必然消耗汽車發動機的部分功率,因而增加了發動機
2019-10-31 07:43:35
空調主板電源部分輸出電壓4V,經過7805之后2V,求檢測方法,哪個元件壞了電源芯片TOP267VG
2018-05-01 21:15:05
protel中分立元件制作時,元件怎么做,幾個部分用同一個元件名稱嗎
2012-09-07 13:25:09
申請理由:作為汽車自動感應太陽能空調系統控制主機進行測試,進行相關空調數據顯示,空調自動控制設定,項目描述:通過太陽能為汽車提供電能給汽車電子空調系統,讓汽車在車主需要開車的一個小時以前進行降溫
2015-06-29 19:30:42
在汽車中,水泵、油泵和助力轉向泵這些負載仍由發動機直接驅動,采用電機驅動這些負載,可大大簡化機械設計,無需采用皮帶和轉輪,同時節省發動機艙內空間。AUIR3330S 提供了一個可以全速范圍驅動任何
2019-07-24 04:30:00
中國上海,2023年3月9日 ——東芝電子元件及存儲裝置株式會社(“東芝”)今日宣布推出一款用于空調和工業設備大型電源的功率因數校正(PFC)電路的650V分立IGBT---“GT30J65MRB
2023-03-09 16:39:58
在混合動力汽車/電動汽車(HEV/EV)中,發動機并不會被用來運行加熱和冷卻系統,這與內燃機(ICE)汽車情況不同。我們使用兩個關鍵系統來替代這一功能:使用BLDC電機驅動空調壓縮機,使用正溫度系數
2022-11-04 06:40:48
,這兩種解決方案都需要使用更多的繼電器,而這意味著將會增加電路板空間和分立元件。 使用固態解決方案,您只需要為TI的電機驅動器提供來自MCU的兩個脈沖寬度調制(PWM)信號來控制電機轉速。在
2019-08-22 04:45:11
1.自動運行模式用遙控器將空調的運行模式設置為自動運行模式后,空調的微處理器根據室內溫度傳感器檢測到的溫度來確定自動控制空調是工作在制冷模式,還是制熱模式。當室內溫度高于設定的溫度時,進入制冷模式
2021-09-03 06:19:24
電動汽車上體現尤為明顯:以電動機代替燃油機,由電機驅動而無需自動變速箱。相對于自動變速箱,電機結構簡單、技術成熟、運行可靠。傳統的內燃機能高效產生轉矩時的轉速限制在一個窄的范圍內,這就是為何傳統內燃機
2020-06-22 09:00:02
由分立元件構成的IGBT驅動電路
2019-11-07 01:22:18
大洋電機(廣東中山) 急聘汽車驅動系統類職位1:硬件工程師3人:要求電子電力、自動化等專業背景,熟悉電器、電驅動原理,開關電源設計、IGBT驅動和保護設計、模擬及數字電路知識熟悉產品EMC設計、安規
2016-04-16 09:35:19
請問,電路圖主要就是一些分立元件,是按照這些元件的相互之間的就近原則布局,還是把相同類型的元件擺放在一起然后布局。 如果按照元件的相互間信號流動的就近原則的話,布局看上去特別亂,如果把相同類型的元件放在一起,然后布局,擔心影響后面的信號走線。 不知道怎么弄。
2019-09-30 00:56:25
安森美半導體電源方案部(PSG)加速了擴展分立器件、集成電路(IC)、模塊和驅動器產品陣容,針對汽車應用中的高電源能效方案。公司電源方案部的汽車認證的器件數現已超過4,000,是該行業中最大的供應商
2018-10-25 08:53:48
鐵氧體磁鋼,必將使汽車微特電機更輕量化、高效化。 3、無刷化 按照汽車控制與驅動自動化和降低故障率、消除無線電干擾等要求,在高性能永磁材料和電力電子技術、微電子技術的支承下,汽車中大量應用的各種規格
2020-08-25 14:49:29
純電動汽車上體現尤為明顯:以電動機代替燃油機,由電機驅動而無需自動變速箱。相對于自動變速箱,電機結構簡單、技術成熟、運行可靠。傳統的內燃機能高效產生轉矩時的轉速限制在一個窄的范圍內,這就是為何傳統
2018-10-15 10:29:00
。在純電動汽車上體現尤為明顯:以電動機代替燃油機,由電機驅動而無需自動變速箱。相對于自動變速箱,電機結構簡單、技術成熟、運行可靠。傳統的內燃機能高效產生轉矩時的轉速限制在一個窄的范圍內,這就是為何傳統
2018-10-16 09:51:55
高度集成的電源模塊的尺寸、能效和可靠性優勢,使它們相當受歡迎,特別是在大型電器和其他“白家電”中,盡管這樣,但它們在汽車空間仍然罕見。有利的是,我們新的FAM65V05DF1 Auto SPM智能
2018-10-22 09:07:34
越來越多的電機已被應用到汽車上,選擇一個符合汽車等級要求的有刷直流電機驅動,可簡化設計以及提高安全性能。本文為您介紹符合汽車等級要求的功能增強型的H橋預驅芯片HCV7535。 有刷直流電機在
2023-03-10 10:01:55
除了電源電路還能看到分立元件,其他部分幾乎都被IC取代了!是不是做電子只能做電源?還有什么領域要用到傳統的分立元件和通用IC的模擬電子設計?我最近在看關于用分立元件搭建模擬電路的書,是不是已經過時了?!還有看的必要嗎?
2017-11-29 21:16:29
、節約、簡單三大優勢。在純電動汽車上體現尤為明顯:以電動機代替燃油機,由電機驅動而無需自動變速箱。相對于自動變速箱,電機結構簡單、技術成熟、運行可靠,甚至被視為中國在新能源汽車行業實現汽車工業“彎道超車
2018-10-18 11:04:12
電動汽車電機是指以車載電源為動力,電動汽車電機用電機驅動車輪行駛,電動汽車電機符合道路交通、安全法規各項要求的車輛。由于對環境影響相對傳統汽車較小,其前景被廣泛看好,但當前技術尚不成熟。電源為
2013-03-13 13:39:04
張飛實戰電子之電路設計經驗及分立元件搭電源模塊及整流橋
2015-04-14 20:43:46
求純電動汽車的空調加熱和冷卻系統的結構框圖或電路原理圖!!!
2016-07-03 16:24:08
,這兩種解決方案都需要更多的繼電器,而更多的繼電器需要更多的電路板空間和分立元件。 使用固態解決方案,您只需要為TI的電機驅動器提供來自MCU的兩個脈沖寬度調制(PWM)信號來控制電機轉速。在
2020-06-26 07:00:00
1 空調如何實現溫度的高度調節,基本原理即可2 汽車空調系統有多少電機,多少傳感器謝謝!
2018-09-28 21:06:57
分立元件構成的IGBT驅動電路
2019-09-24 09:13:35
降溫或升溫的目的。霍爾元件在空調風機中起到檢測風機轉速的作用。正常情況下風機每轉一周霍爾元件就輸出一個或者幾個脈沖信號,通過霍爾元件反饋的信號來控制電機轉速,來達到調速的目的。推薦使用雙極霍爾元件
2020-02-27 10:59:55
無論在酷暑還是寒冬,乘客始終可以通過汽車的加熱和制冷系統享受到舒適的車內環境。在不同類別的車輛中,這些暖通空調(HVAC)系統的復雜性和自動化程度也各不相同。經濟型汽車可能需要駕駛員手動旋轉旋鈕來
2019-07-30 08:44:22
低功率VFD (變頻驅動) 應用中分立元件方案與智能功率模塊的比較:SPMTM (智能功率模塊) 產品的大量涌現及其帶來的成本效益潛力,使我們有理由重新審視低功耗驅動應用中SPM 與
2009-12-20 09:31:35
22 汽車專用分立電子元件簡介
今天,汽車中并聯在供電線路上的許多電子控制器和設備與三、四十年前生產的汽車有了很大的不同。那時汽車中的唯一的電子設備
2010-03-12 09:31:50
39 一) 主要性能特點 汽車空調試驗電源是濟南能華給汽車空調控制器提供輸入電源的,根據空調控制器的要求,電源具有輸出紋波低,響應速度快,沖擊電流小,電壓穩定度
2023-07-12 21:29:56
給出了雙音多頻發送電路的分立元件實現方法。分立元件與傳統集成芯片電路實現方法相比,電路更靈恬,成本更低。關鍵詞:雙音多頻;分立元件
Abstract:The realization o
2010-04-24 08:33:06
60 主要討論了利用霍爾元件在無刷電機控制系統中使用的問題,并對利用霍爾集成傳感器進行了探討。關鍵詞:霍爾元件 無刷電機 驅動
2010-08-30 16:02:20
196 分立元件功放電路
2007-06-26 13:08:09
16469 
分立元件取樣放大電路圖
2008-05-06 23:31:31
1269 
采用霍爾元件的電機驅動電路
直流無刷電機使用永磁轉子,在定子的適當位置放置所需數量的霍爾器件,它們的輸出和相應的定子繞
2009-03-06 10:02:51
8388 
光耦合器與分立元件施密特觸發器用于驅動54 74 FTL電路圖
2009-07-02 11:27:16
1944 
分立元件構成的耳機放大電路
下圖是由三極管,二極管,電阻等分立元件組成的耳機放
2009-07-31 21:27:53
2644 
分立元件穩壓電源的改進
2009-08-18 17:35:30
882 
自動空調的控制功能和原理
汽車空調器在經歷了手動空調器和自動空調器兩個發展階段后,目前已出現了用微電腦控制的自動空調器。手動式的空調器只能按駕駛員所
2009-10-25 14:25:29
4844 
分立元件的晶體管穩壓電源電路
2009-12-03 09:09:36
5731 
分立元件耳機放大電路
2010-02-02 11:39:19
3941 
分立元件觸摸開關電路
分立元件觸摸開關電路如下圖所示,該電路由感應放大器、存儲器、交流驅動器等組成。手指觸摸絕緣金屬板
2010-02-08 17:54:01
2731 
分立元件構成的IGBT驅動電路
2010-02-17 17:07:41
5517 
基于分立元件設計的電池自動恒流充電電路技術
本文在此介紹一種基于分立元件構成的電池自動恒流充電電路,重點闡述了電路的組成、結構特點、工
2010-05-18 08:36:40
2028 
圖示出采用分立電阻的自舉驅動逆變電路拓撲。它由分立元件組成,其特點是:①驅動電路的電源地與逆變全橋的母線電源正接在一起.使得控制電源懸浮在母線電源之上;②主
2010-08-18 14:21:18
4587 
文將討論使用分立元件的功放監測與控制解決方案,并介紹集成的解決方案。
2011-10-11 10:41:41
2652 
分立元件控制功放在基站中的應用,有興趣的同學可以下載學習
2016-05-04 14:37:53
0 LED驅動電源周邊元件的選擇,是決定驅動電源好與壞的關鍵因素
2016-06-08 14:10:53
12 分立元件的功放,很好的東西。用到TIP41和2N5551和2N5401.。。。。。
2016-06-08 17:52:35
0 變頻空調驅動電機的弱磁控制_陳寧
2017-01-08 13:58:48
7 基于分立元件的電池自動恒流充電電路設計
2017-01-16 13:54:55
35 在2016慕尼黑(德國)電子展覽會上,elmos提供了汽車應用的電機驅動芯片,可以使用24V和48V車載電源和24V至60V供電電源,適用于工業應用環境電機驅動,以及汽車散熱器格柵調節。elmos的電機驅動芯片還可以控制車載水泵和LED前大燈的冷卻。所有IC具有全面的安全功能和一流的精度。
2017-01-20 11:42:26
2870 
一種由LIN總線通信控制的伺服電機,涉及到汽車空調伺服電機領域,主要用于汽車空調風門的驅動調節上,其結構包括:上下機殼、齒輪系、馬達、電路板,芯片,插針座。該伺服電機最顯著的優點在于減少了汽車空調
2017-10-13 15:58:41
44 隨著人們對汽車的舒適性要求越來越高,汽車空調作為舒適性的關鍵功能件,其性能直接影響著用戶體驗,是評價整車舒適性的重要因素。自動空調通過對乘客的設定溫度和傳感器采樣到的車內溫度、環境溫度、陽光
2018-02-06 16:03:59
13 、濕度、清潔度、風量和風向等進行自動調節,給乘客提供一個良好的乘車環境,保證在各種外界氣候和條件下使乘客都處于一個舒適的空氣環境中,而且還能進行故障檢測。 汽車自動空調基本結構及原理 汽車自動空調系統由制冷系統
2018-02-24 10:55:52
21703 汽車自動空調系統是實現對車廂內空氣進行制冷、加熱、換氣和空氣凈化的裝置。可以自動收集車內外溫度、濕度等一系列信號,傳遞給控制器,按一定的數學模式計算,并自動調節以獲得最佳空調運行模式。
2018-05-03 08:13:00
2898 
分立元件激光器驅動電路,用三極管進行搭建,電路簡單.本電路應用在低速光通訊中.
2019-02-13 16:51:24
6024 
,由于信號形狀的多樣性, 功率要求的多樣性,以及集成電路制造技術等原因, 無法在集成電路內部實現大阻值電阻、大容量的電容器和電感、變壓器等元件, 因此在模擬電路的大功率、超高頻等領域中, 分立元件電路仍有一席之地。
2018-10-16 10:35:29
50503 在混合動力汽車和電動汽車中,有很多輔助三相電機驅動的應用機會。這些系統的額定功率范圍為5至8kW,用于空調驅動、電動增壓器和電動渦輪增壓器等系統。這些系統通常采用分立器件設計來實現,但集成電源模塊的設計正迅速流行起來。
2019-02-24 08:26:00
6037 對新能源車來說,有提升空間的當屬電機驅動部分,而電機驅動部分的核心元件IGBT則是需要重視的。IGBT約占用電機驅動系統成本的一半,是除電池之外成本高的元件,也決定了整車的能源效率。不僅電機驅動要用
2020-03-31 16:45:13
2018 
兩側的路況,在駐車和倒車時,駕駛員為了觀察不同區域的路況,必須在兩個方向上調節汽車左右后視鏡,半自動和全自動后視鏡系統應運而生。 較為直接的方法是用電機驅動后視鏡繞兩個坐標軸轉動。傳統電磁電機需要齒輪機構大
2021-04-02 09:59:15
1544 內燃機(ICE)汽車情況不同。我們使用兩個關鍵系統來替代這一功能:使用BLDC電機驅動空調壓縮機,使用正溫度系數 (PTC) 加熱器來加熱冷卻劑。
PTC加熱器依靠高壓電池來運行,需要幾千瓦的功率
2022-01-12 14:47:17
2645 電機驅動器對于控制從辦公室打印機到風扇的所有設備中的電動機都是必不可少的。 隨著電機應用的復雜性增加,電機驅動器的功能也在增加。 雖然過去使用分立元件組裝電機驅動器很有效,但越來越多的工程師正在轉向
2021-12-22 16:29:59
2148 
芯北科技的CN8031是用于驅動可逆電機的H橋電機驅動器,可驅動一個DC電機,一個步進電機的繞組或其他負載。應用在汽車空調控制器上可實現對步進電機或兩個直流電機的控制,從而控制風扇轉速,給乘車人員
2022-05-16 15:24:24
1218 了解風門執行器以及在它們在汽車暖通空調系統中的驅動因素
2022-11-01 08:24:25
0 伺服電機又被稱為汽車空調通風系統的執行器,顧名思義就是按照汽車空調控制版面發出的各種指令去執行相關的狀態轉換任務,主要被用于車載空調HVAC個風門狀態的轉換與水閥的應用。
2022-11-18 14:46:11
4983 在這篇文章中,我們將使用7段顯示器和常用的分立元件構建一個飆車計時器電路,這些分立元件可以測量汽車或任何其他車輛從起跑線到終點線所需的時間。所提出的電路是全自動的,這意味著它可以在沒有人工干預的情況下啟動和停止計時器。
2023-03-19 11:41:19
2568 
一文詳解分立元件門電路
2023-03-27 17:44:04
4586 
現在,讓我們了解如何使用分立元件構建雙向開關,以實現預期的雙向開關應用。
2023-06-27 17:26:35
2687 
電動汽車驅動電機是指應用于電動汽車上,用于驅動車輪運動的電機。(區別于伺服電機)
2023-07-15 12:51:20
1000 
? ? ? ?分立器件包括二極管、三極管、MOS管、橋堆等產品,它們的作用包括開關、整流、放大、穩壓和混頻等,是很多電子線路板上不可或缺的元件。本期合科泰主要給大家講述二極管、三極管等產品在
2023-08-04 17:35:03
1930 電動汽車驅動電機是指應用于電動汽車上,用于驅動車輪運動的電機。(區別于伺服電機)
2023-11-06 14:38:54
4007 
電子發燒友網站提供《基于分立元件構成的電池自動恒流充電電路.pdf》資料免費下載
2023-11-13 15:09:02
2 電子發燒友網站提供《分立式元件對電源進行時序控制的優缺點.pdf》資料免費下載
2023-11-29 11:36:07
0 介紹。 高效性能:汽車驅動電機采用電能作為動力來源,其能量轉換效率遠高于內燃機。一般來說,電動汽車的能量轉換效率可以達到80%以上,而內燃機汽車的能量轉換效率僅為20%-30%。這意味著電動汽車在同等能量輸入下,可以輸
2024-01-09 15:12:57
1934 
電動汽車的驅動方案主要有傳統的集中電機驅動以及輪轂電機驅動兩種方式,其中傳統的集中電機驅動方式主要以內燃氣汽車為基礎,采用集中電機驅動系統替代原有的內燃機和變速器之間的連接。
2024-01-12 09:32:21
1634 
電機驅動器是一種將電能轉換為機械能的設備,可以將電能轉換成適合電機使用的電源信號。簡單來說,電機驅動器就是將來自于電網的交流電通過整流、濾波、逆變等處理方式轉換成適合電機使用的電源信號。電機驅動
2024-08-14 18:24:51
1579 電子發燒友網站提供《在電機驅動器的UCC23513光兼容隔離式柵極驅動器中實現分立式 DESAT.pdf》資料免費下載
2024-08-30 10:12:48
1 霍爾元件在空調電機中的應用主要體現在以下幾個方面: 一、檢測與控制電機轉速 霍爾元件作為磁傳感器,能夠檢測磁場及其變化。在空調電機中,霍爾元件常被用于檢測風扇的轉速。當風扇轉動時,會帶動一個永磁體
2025-01-08 16:34:22
1060 電機驅動系統作為工業自動化、電動汽車、家用電器等領域的核心部件,其電源穩定性直接關系到設備的安全運行和壽命。電源故障可能導致電機失控、設備損壞甚至安全事故。因此,如何有效預防和應對電機驅動系統中
2025-06-14 17:33:57
869 
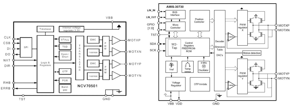
Melexis推出第四代汽車LIN電機驅動器MLX81350,可為電機提供高達5W(0.5A)的功率。該驅動器專為電動汽車(EV)的空調風門與自動通風系統設計,具備高性價比,不僅能實現電機靜音、高效運行,還可簡化系統集成流程,并確保性能穩定可靠。
2025-11-08 17:04:19
2775
評論