隨著現代電子技術的飛速發展,特別是微機技術在汽車上的廣泛應用,使得汽車的內涵和功能不斷拓展和延伸,汽車電子化正逐漸成為現代汽車的基本特征。節氣門是汽車發動機的重要
2011-10-02 16:18:15
3380 
。它通過傳感器、控制器、節氣門驅動裝置實現與發動機管理系統(EMS)的配合:根據駕駛員和發動機轉矩需求、汽車行駛狀態等相關信息快速且精確地控制節氣門開度,以此來精確調節進氣量,使發動機在最合適的狀態下
2022-10-31 10:49:02
4798 汽車功況就是發動機工作狀況,電噴發動機基本分八種工況:啟動、啟動后、暖機、怠速、部分負荷、全負荷、過渡、托動。各種工況完全由電腦監視和控制。空檔滑行是怠速工況,節氣門關閉,曲軸轉速低。帶檔滑行
2021-02-20 14:22:20
應用在汽車上的位置傳感器有曲軸位置傳感器、凸輪軸位置傳感器、節氣門位置傳感器、液位傳感器和車輛高度傳感器等。其中曲軸位置傳感器是發動機電子控制系統的主要部件,它是控制發動機點火正時、確認曲軸位置
2018-10-29 10:49:16
可變氣門正時VVT,是一種用于汽車活塞式發動機中的技術。VVT技術可以調節發動機進氣排氣系統的重疊時間與正時,降低油耗并提升效率。可變氣門正時系統由電磁閥和可變凸輪軸相位調節器組成,通過調節發動機
2022-01-19 14:42:09
該傳感器是外置傳感器,它安裝在正時齒輪室殼體的背部,其功能與發動機轉速/位置傳感器相同,向ECM提供發動機轉速和位置信息。圖1為發動機轉速傳感器電路。 圖1 發動機轉速傳感器電路 在傳感器
2018-10-31 17:38:24
發動機位置傳感器(或稱發動機轉速/位置傳感器)的作用是向EOM提供發動機轉速和位置信號。電源向EPS提供5V工作電壓,傳感器通過感應固定在凸輪軸齒圈上缺口的運動產生信號。齒圈上有71 個齒,并在
2018-10-31 17:39:11
電阻的滑動觸點接觸不良會導致在節氣門全關再全開是會有間歇性中斷情況出現。2、空氣流量傳感器常見故障之一:發動機怠速不穩定,局部會出現負荷冒黑煙狀況,并且會有換擋熄火情況出現;故障二:在對發動機怠速不穩定行駛無力冒黑煙情況進行處理后,再次發生相同情況。
2018-09-10 09:53:02
。 汽車上主要的傳感器有:空氣流量傳感器、ABS傳感器、節氣門位置傳感器、曲軸位置傳感器、凸輪軸位置傳感器、冷卻液溫度傳感器、氧傳感器和機油壓力傳感器等。
2020-06-28 16:14:23
`汽車發動機異響最主要是汽車發動機燃燒做功引發的!我的新技術,一種電子加速器可以解決,安裝方便,直接對新車舊車發動機點火線圈工作,有幾個點火線圈就有幾個一種電子加速器。百度一下:《汽車發動機升級產品,一種電子加速器》,專利ZL201420595090.9`
2017-05-30 19:55:14
本文檔的主要內容詳細介紹的是汽車發動機構造是怎么樣的,并分享20個汽車發動機維修詳細案例分析
2019-04-02 15:21:36
請教大神們,汽車發動機是用油壓傳感器,還是用溫度壓力傳感器?多謝指教
2017-10-26 16:00:34
如今,汽車發動機電子控制系統所用傳感器的數量和種類正逐步增加,這給汽車發動機用傳感器市場帶來了巨大的發展空間。中國汽車產量2004年超過500萬輛,2005年超過690萬輛,如按照每輛汽車發動機
2019-08-01 07:02:29
指示中間位置。確保發動機氣缸的噴油系統和點火系統處于關閉狀態。連接一個壓力探頭至示波器的通道一(改探頭是一個壓力傳感器,能將壓力信號轉換為電信號輸入到示波器)。清潔火花塞周圍,移除發動機缸上的火花塞
2021-03-19 18:17:22
汽車發動機工作時,發動機控制模塊(ECU)需要各類傳感器提供發動機的狀態參數,其中進氣溫度傳感器用來檢測進氣溫度,并將進氣溫度信號轉變成電信號輸送給發動機控制模塊(ECU),作為汽油噴射、點火正時
2021-06-30 06:31:14
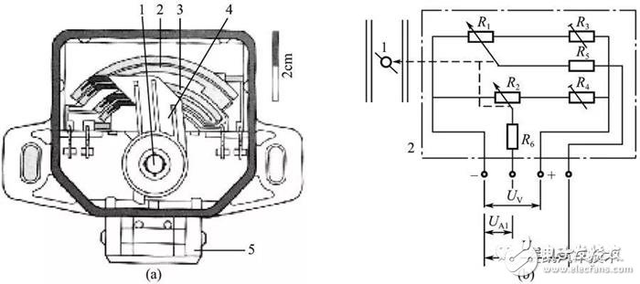
節氣門位置傳感器又稱為節氣門開度傳感器或節氣門開關。其主要功用是檢測出發動機是處于怠速工況還是負荷工況,是加速工況還是減速工況。它實質上是一只可變電阻器和幾個開關,安裝于節氣門體上。 電阻器
2020-12-31 17:21:29
過濃就是過稀,燃燒不充分,降低發動機功率,增加排放污染。2.輪速傳感器一般安裝在每個車輪的輪轂上。一但故障,ABS則會失效。3.空氣流量計一般安裝在空氣濾清器與節氣門體,一但故障發動機轉速升不起來。4.
2018-10-29 10:42:59
冷啟動困難,在暖車階段行駛特性不良,燃油消耗增加,廢氣排放增加等故障。 節氣門開度傳感器 節氣門開度傳感器用來檢測節氣門的開度和開關的速率,并把該信號轉變為電壓信號送給發動機的控制電腦,作為控制噴油
2017-11-16 15:12:05
本人做汽車電子節氣門多年,發現大部分節氣門所用的位置傳感器都用的是接觸式(即電阻片式),其壽命遠低于非接觸式的位置傳感器。現在想把它改成非接觸式的,可是由于每一種位置傳感器對應的汽車電腦板,以及電腦板對它的插頭端子的供電方式都有所不同。請問有哪位高人能夠指點一二,謝謝!
2014-05-14 16:39:07
現代電噴發動機電腦一般有2-4個溫度傳感器,分別是:進氣溫度傳感器,在進氣管或者節氣門前后;水溫溫度傳感器,在發動機的水冷循環管路、散熱器上水管、散熱器下水管。
2010-03-25 18:17:19
基本噴油量,同時還要通過節氣門位置傳感器檢測節氣門的開度,確定發動機的工況,進而控制,調整最佳噴油量,最后還需要通過曲軸的角速度傳感器監測曲軸轉角和發動機轉速,最終計算出并發出最佳點火時機的指令。這個
2021-07-14 06:00:50
①按圖1所示內容進行線路連接。 ②打開點火開關,發動機不運轉,測試TPS。 ③從主菜單中選擇AUTO METERS項。 從主菜單中選擇LAB SCOPE項同時能測試出TPS信號波形,但不
2018-10-31 17:03:14
節氣門關閉位置,輸出電壓較低,節氣門全開時,輸出電壓大于4. 0V。電控單元根據節氣門開度信號計算供油量、點火正時、怠速、廢氣再循環、燃油蒸發排放控制和空調切斷控制等。該傳感器連接器端子及其連接
2018-10-31 17:26:29
有知道利用carsim中發動機扭矩特性曲線怎么建立逆向發動機模型,那些點的數據在圖上很難獲取啊,就是知道轉速,轉矩,怎么得到節氣門開度!
2013-09-17 17:24:24
東風悅達千里馬節氣門位置傳感器檢測數據如下表所示: 歡迎轉載,信息維庫電子市場網(www.dzsc.com):
2018-10-30 16:23:21
分析 節氣門位置傳感器是將節氣門的開度,即發動機負荷的變化轉變為電信號輸送給ECU。ECU根據此信號,來判斷汽車所處的工況,及時對噴油量進行修正。如果節氣門位置傳感器工作特性不良,就會造成ECU對當前
2018-11-15 16:47:34
包括動力閥和渦流閥控制,可有效改善和提高發動機的輸出扭矩和動力。 (3)增壓控制,ECU根據進氣壓力傳感器檢測的進氣壓力信號去控制釋壓電磁閥,以控制排氣通路切換閥,改變排氣通路的走向,從而控制廢氣
2011-09-05 09:51:31
節氣門位置傳感器,是汽車電子控制系統中最重要的傳感器,主要用于發動機電子燃油噴射系統和電控自動變速器系統。節氣門位置傳感器安裝在節氣門體上節氣門軸的一端,探測或監測節氣門開度的大小和變化的快慢,并把
2020-07-19 12:12:01
(1)標準波形特點 開關型節氣門位置傳感器有兩個動觸點,一個用于測量節氣門開啟角度,另一個測量節氣門關閉角度。 它的標準波形如圖1所示。波形中,下水平電壓表示節氣門關閉,并在0V位置上,上水
2018-10-31 17:04:32
(1)標準波形特點 開關型節氣門位置傳感器有兩個動觸點,一個用于測量節氣門開啟角度,另一個測量節氣門關閉角度。 它的標準波形如圖1所示。波形中,下水平電壓表示節氣門關閉,并在0V位置上,上水
2011-11-10 11:40:40
觸`點,如圖2所示。 (2)開關型節氣門位置傳感器的檢測 當節氣門位置傳感器發生故障時,發動機ECU可以檢測到,并使發動機進人故障應急狀態運行,利用故障診斷儀可以讀取故障信息。 圖3為豐田汽車
2018-10-29 14:59:06
摩托羅拉多點燃油噴射系統節氣門位置傳感器檢測如下表所示:
2018-10-31 17:28:50
(1)標準波形特點 福特林肯轎車上裝用數字式進氣壓力傳感器。該傳感器根據進氣管壓力的變化,產生一個頻率信號。當節氣門開度增大即發動機負荷增大時,頻率增長率高,反之頻率減低。不管發動機的真空度
2018-10-31 17:07:23
(1)標準波形特點 模擬式進氣壓力傳感器連接器為三線端子,它們是5V參考電壓線正負極和信號輸出線。其波形特點是:發動機加速或回到怠速時,其信號電壓將增大或減小。高電位表示高的進氣歧管壓力(低
2018-10-31 17:01:46
求 可以測量 發動機 轉速的傳感器 ?非常感謝 !
2018-01-29 15:53:23
求大神指導編程:節氣門系統的軟件設計
2019-04-14 13:45:15
求推薦汽車電子節氣門技術資料或者詳細說一下電子節氣門的控制邏輯。我如果想用stm32來做控制器,那么要除了根據踏板行程來控制節氣門開度之外,怎么根據ecu反饋的數據(哪些數據)來實時計算出節氣門的最佳開度。不勝感激
2018-10-10 11:15:32
柴油機噴油量電子控制。電腦根據節氣門開度位置和發動機轉速計算出基本噴油量,圖2溢油控制電磁閥和位置傳感器 然后再根據其他信號進行修正,向溢流控制電磁閥發出動作信號,實現電子控制。2為溢油控制電磁閥
2018-11-16 16:15:28
單元發出兩路反映加速踏板位置的電壓信號。在發動機啟動時,加速路板未被踏下或輕踏時,節氣門在預設程序的控制下開啟到一個固定位置,即發動機控制單元根據此信號進行啟動控制。加速踏板位置傳感器共有兩個類型:線性型
2020-07-15 10:56:07
節氣門軸上有兩復位彈簧在相反方向起作用,保證在電子節氣門控制系統有故障時, 節氣門轉角能夠回復到平衡位置 , 使發動機能繼續運轉。這句話不太明白。。。。。還有就是電子節氣門為什么要用非線性彈簧???下圖中是彈簧合扭矩與節氣門開度的關系,為什么在平衡位置處會發生扭矩的突變?????
2014-07-09 15:52:06
(1)標準波形特點 線性輸出型節氣門位置傳感器標準波形如圖1所示。 圖1 線性輸出型節氣門位置傳感器標準波形 (2)波形測試方法 線性輸出型節氣門位置傳感器是一個三線傳感器,其中
2018-11-15 15:01:05
速觸點,E2-接地 (2)豐田汽車線性輸出型節氣門位置傳感器的檢測 豐田皇冠3.0型轎車發動機采用線性輸出型節氣門位置傳感器,其檢修內容主要是怠速觸點導通情況檢查、 傳感器電阻檢查、傳感器電壓檢查
2018-12-04 13:49:12
模式等參 考信號,控制發動機的空燃比、斷油和點火提前角,還要控制變速器的換擋時刻、變矩器鎖定。 裝有自動變速器的豐田車輛,其節氣門位置傳感器采用的是編碼電位器。圖1是節氣門位置傳感器的編碼圖 ,當
2018-11-16 16:18:27
與節氣門聯動,進而反映發動機的不同工況。這種傳感器可把發動機的不同工況檢測后輸入電控單元,從而控制不同的噴油量。曲軸位置傳感器曲軸位置傳感器是計算機控制的點火系統中最重要的傳感器,作用是檢測上止點信號
2018-11-09 16:04:29
節氣門位置傳感器 作用:節氣門位置傳感器是監測節氣門開啟角度的大小,確定怠速,全負荷及加減速工況,以實施與節氣門開度狀態相對應的各種噴油量控制。失效
2021-09-07 16:22:46
為使發動機滿足混合動力系統轉矩分配控制的需要,針對TJ376QE電噴汽油機,采用步進電機將其機械節氣門改造成電控節氣門,利用MC68376單片機TPU模塊的步進電機控制功能,實現了電控節
2009-05-24 01:36:41
27
發動機控制單元、進氣溫度傳感器、節氣門定位電動機、節氣門、角度傳感器! 增壓壓力限制電磁閥、增壓
2009-01-22 17:48:19
1621 
多氣門發動機,多氣門發動機是什么意思
多氣門
傳統的發動機多是每缸一個進氣門和一個排氣門,這種二氣
2010-03-10 15:24:41
1697 、節氣門位置傳感器、進氣溫度傳感器等信號進行模擬,仿真汽車 ECU 的運行環境,測試 ECU 工作狀況并采集 ECU 輸出的噴油和點火信號加以分析. 結果顯示,發動機 ECU 測試系統產生的各種傳感器信號可用于實際車輛檢測和發動機 ECU 開發,同時也為汽車維修帶來新的解決方案。
2017-09-07 15:07:47
29 一、引言 隨著現代電子技術的飛速發展,特別是微機技術在汽車上的廣泛應用,使得汽車的內涵和功能不斷拓展和延伸,汽車電子化正逐漸成為現代汽車的基本特征。節氣門是汽車發動機的重要控制部件。為了提高汽車
2017-11-04 10:55:48
2 為了使噴油量滿足不同工況的要求,電子控制汽油噴射系統在節氣門體上裝有節氣門位置傳感器。它可以將節氣門的開度轉換成電信號輸送給ECU,作為ECU判定發動機運轉工況的依據。節氣門位置傳感器有開關量輸出型和線性可變電阻輸出型兩種。
2018-07-18 08:39:00
9323 我們知道,操縱節氣門開度就能控制可燃混合氣的流量,改變發動機的轉速和功率,以適應汽車行駛的需要。駕駛員通過操作加速踏板來操縱節氣門開度。加速踏板和節氣門的連接方式有兩種:剛性連接和柔性連接。傳統油門
2017-12-02 11:58:29
62093 
節氣門位置傳感器安裝在節氣門上,用來檢測節氣門的開度。它通過杠桿機構與節氣門聯動,進而反映發動機的不同工況。此傳感器可把發動機的不同工況檢測后輸入電控單元(ECU),從而控制不同的噴油量。它有三種型式:開關觸點式節氣門位置傳感器、線性可變電阻式節氣門位置傳感器、綜合型節氣門位置傳感器。
2018-07-15 07:07:00
27368 汽車實物解剖模型采用客戶指定車型的原廠發動機制作,對發動機進行解剖后可以展示發動機的內部結構以及各部件的相對位置;解剖后可以顯露的零部件如下:氣缸、活塞、凸輪軸和齒輪、進氣門、排氣門、火花塞、噴油器、進氣歧管、排氣歧管、發電機、機油泵、水泵帶溫控裝置、節氣門體等。
2018-01-08 14:33:27
81995 
發動機傳感器控制系統是整個汽車傳感器的核心,它有包含的種類很多、溫度傳感器、壓力傳感器、位置和轉速傳感器、流量傳感器、氧傳感器和爆震傳感器等。這些傳感器向發動機的電子控制單元(ECU)提供發動機
2018-03-20 14:59:00
10321 本文首先介紹了電子節氣門的基本結構,其次介紹了電子節氣門各構件的組成和工作原理,最后闡述了電子節氣門的優缺點,具體的跟隨小編一起來了解一下。
2018-05-09 15:24:22
53275 
節氣門位置傳感器又稱為節氣門開度傳感器或節氣門開關,是用于檢測發動機狀態的設備。本文首先介紹了節氣門位置傳感器作用,其次介紹了節氣門位置傳感器損壞會導致汽車哪些故障及常見的故障盤點,最后闡述了兩個節氣門傳感器故障案例分析,具體的跟隨小編一起來了解一下。
2018-05-09 15:45:28
102293 
汽車電子節氣門是汽車非常重要的一個組件,新手司機們往往忽略這個問題,本文主要介紹的是汽車電子節氣門的原理與檢測方法,首先介紹了節氣門直動式節氣門位置傳感器,其次闡述了系統的組成和工作原理和檢測,最后闡述了電子節氣門中的節氣門位置和加速踏板位置傳感器,具體的跟隨小編一起來了解一下。
2018-05-09 16:19:30
61421 
基于AMR (各向異性磁阻)技術的速度和角度傳感器應用于輪速測量、電子節氣門、發動機管理、主動懸掛、底盤控制、電子助力轉向等應用。
2018-06-28 14:50:00
4236 節氣門位置傳感器,是汽車電子控制系統中最重要的傳感器之一,主要用于發動機電子燃油噴射系統和電控自動變速器系統。節氣門位置傳感器安裝在節氣門體上節氣門軸的一端,探測或監測節氣門開度的大小和變化的快慢
2018-07-22 08:40:00
3647 傳統的節氣門與加速踏板之間通過拉桿連接,節氣門的開度完全由駕駛員通過加速踏板來控制。這種機械控制方式只能使發動機完全按駕駛員的操作意圖工作,不能確保發動機的工作狀態與汽車的運行情況形成最佳的匹配。
2018-12-13 09:05:00
36412 
汽車發動機在運行中,各系統會處于不同的工作狀態,比如水溫、油溫、進氣壓力、節氣門位置、等等,這些信息汽車的電腦是無法直接讀取的,必須轉化為電腦能夠識別的電信號。汽車傳感器就是執行這樣任務的,它把汽車
2018-09-22 19:14:00
10035 文|傳感器技術(WW_CGQJS) 汽車發動機在運行中,各系統會處于不同的工作狀態,比如水溫、油溫、進氣壓力、節氣門位置、等等,這些信息汽車的電腦是無法直接讀取的,必須轉化為電腦能夠識別的電信號
2018-09-14 09:36:58
5663 節氣門位置傳感器又稱為節氣門開度傳感器或節氣門開關,是用于檢測發動機狀態的設備。節氣門位置傳感器主要功用是檢測出發動機是處于怠速工況還是負荷工況,是加速工況還是減速工況。
2018-11-18 11:18:32
49325 本視頻主要介紹了節氣門位置傳感器分類,分別有模擬式節氣門位置傳感器、開關式節氣門位置傳感器、滑動電阻式節氣門位置傳感器以及雙可變電阻式節氣門位置傳感器。
2018-11-18 11:21:50
28051 節氣門位置傳感器(故障一:怠速開關短路或斷路;故障二:節氣門位置傳感器安裝調整不當,使怠速開關在節氣門全關時沒有閉合,或怠速開關在節氣門有一定開度時仍然閉合
2019-06-20 15:32:10
8558 節氣門位置傳感器信號可同時用于發動機控制、自動變速器控制和巡航控制等。對于巡航控制系統而言,節氣門位置傳感器信號的作用是巡航控制ECU用于計算輸出與節氣門開度的關系,以確定輸出量的大小。
2019-09-29 09:15:48
7862 車輛電子節氣門故障后,車輛就會出現發動機故障燈亮、發動機怠速不穩、汽車加速無力、汽車啟動困難等。具體如下。
2019-11-29 14:51:43
7026 相信很多車主都聽說過清洗節氣門,其實節氣門可以自行清洗,這樣可以省了不少錢,不過自行清洗肯定是免拆卸清洗節氣門,免拆清洗節氣門這種方式還有一些危害,下面我們來詳細了解一下。
2019-11-29 14:56:37
10736 電子節氣門控制器對車沒有損害,但是成本比較高,需要更換發動機電腦和變速箱以及節氣門閥體。
2019-11-29 15:08:40
11863 本文主要闡述了節氣門位置傳感器工作原理及節氣門位置傳感器的作用。
2020-03-09 09:05:03
21869 本文主要闡述了節氣門位置傳感器安裝位置及節氣門位置傳感器的調整方法。
2020-03-09 09:13:03
19483 本文先后分別闡述了節氣門位置傳感器結構和節氣門位置傳感器檢測方法。
2020-03-09 09:22:53
5289 本文先后闡述了節氣門位置傳感器壞了會有什么現象及節氣門位置傳感器出現故障的原因。
2020-03-09 09:34:43
26246 汽車節氣門是當今電噴車發動機系統最重要的部件之一,也被稱作是——汽車發動機的咽喉,是控制空氣進入發動機的一道可控閥門。
2020-04-12 11:30:09
2581 汽車節氣門是當今電噴車發動機系統最重要的部件之一,也被稱作是——汽車發動機的咽喉,是控制空氣進入發動機的一道可控閥門。氣體進入進氣管后會和汽油混合變成可燃混合氣,從而燃燒形成做功。
2020-05-04 16:46:00
3836 節氣門位置傳感器,是汽車電子控制系統中最重要的傳感器,主要用于發動機電子燃油噴射系統和電控自動變速器系統。
2020-08-11 17:50:54
1578 
汽車發動機在運行中,各系統會處于不同的工作狀態,比如水溫、油溫、進氣壓力、節氣門位置、等等,這些信息汽車的電腦是無法直接讀取的,必須轉化為電腦能夠識別的電信號。汽車傳感器就是執行這樣任務的,它把汽車
2020-10-13 11:47:47
9400 
研究CAN總線技術和汽車節氣門,將CAN總線技術與汽車節氣門相結合,設計出電子節氣門,對汽車節氣門的開度進行精確控制,,進而優化汽車的空燃比,最終可提高汽車的動力性、經濟性等汽車綜合性能。
2020-11-13 18:06:45
22 大眾車系普遍采用電子節氣門,取消了加速踏板和節氣門之間的拉鎖,轉而采用加速踏板位置傳感器。加速踏板位置傳感器向發動機控制單元提供駕駛員操作加速踏板的信息,發動機控制單元根據傳感器信號來控制節氣門開度。
2020-12-26 00:48:36
1593 通過車載電位控制單元接通制動信號燈。此外通過發動機控制單元還能避免同時踩下制動和油門踏板時車輛加速。為此系統降低噴射量或改變點火時刻和節氣門位置。
2020-12-26 00:57:35
3218 節氣門位置傳感器,是汽車電子控制系統中最重要的傳感器之一,主要用于發動機電子燃油噴射系統和電控自動變速器系統。
2020-12-26 01:11:30
3423 節氣門位置傳感器(Throttle Position Sensor,TPS)是節氣門狀態的唯一檢測元件,通常有接觸型和非接觸型2種,用于將實時采集的節氣門開度轉換為電壓信號輸出,以便對閉環控制進行位置反饋。
2022-04-29 14:55:00
11699 
歧管內的絕對壓力大小的變化,是向ECU(發動機電控單元)提供計算噴油持續時間的基準信號; 2、空氣流量計:測量發動機吸入的空氣量,提供給ECU作為噴油時間的基準信號; 3、節氣門位置傳感器:測量節氣門打開的角度,提供給ECU作為斷油、控制燃
2023-05-25 16:08:47
3732 汽車傳感器檢測方法 汽車傳感器的檢測方法: 1、開關量輸出型節氣門位置傳感器又稱為節氣門開關。它有兩副觸點,分別為怠速觸點(IDL)和全負荷觸點(PSW)。由一個和節氣門同軸的凸輪控制兩開關觸點
2023-06-06 10:39:08
1767 節氣門位置傳感器,是汽車電子控制系統中最重要的傳感器,主要用于發動機電子燃油噴射系統和電控自動變速器系統。節氣門位置傳感器安裝在節氣門體上節氣門軸的一端,探測或監測節氣門開度的大小和變化的快慢,并把
2021-11-30 14:20:34
1209 
節氣門位置傳感器是指安裝在汽車發動機節氣門軸上用于檢測節氣門位置的傳感器。其主要作用如下:
1. 監測發動機的負荷:節氣門位置傳感器可以監測發動機的負荷情況,根據節氣門的開度來控制燃油供給
2023-10-05 10:31:00
5251 滑動電阻式節氣門位置傳感器是一種常用于發動機控制系統中的傳感器,用于測量發動機節氣門的位置。其原理基于電阻的變化來反映節氣門的開合程度。
2023-12-06 09:54:12
2215 
霍爾式節氣門位置傳感器是一種使用霍爾效應原理的傳感器,用于測量發動機節氣門的位置。霍爾效應是一種基于磁場的原理,當一個導電材料(如半導體)處于磁場中時,通過它的電流會受到影響,從而產生電壓差
2023-12-06 09:55:26
3920 
電子節氣門控制系統是現代發動機管理系統中的一個重要組成部分,它通過電子控制單元(ECU)精確控制發動機節氣門的開合,以實現優化燃燒和提高燃油效率。以下是電子節氣門控制系統的基本原理和檢測步驟。
2023-12-06 09:56:19
2826 
節氣門位置傳感器(Throttle position sensor, TPS)是一種用來測量發動機節氣門開度的傳感器,在汽車發動機控制系統中起著關鍵作用。當節氣門位置傳感器出現故障時,會導致一系列
2024-02-18 11:22:16
2071 來自各種傳感器的信號,如節氣門位置傳感器、曲軸位置傳感器、氧傳感器等,來監測發動機的運行狀態。基于這些數據,ECU計算出最佳的燃油噴射量、點火時機和其他相關參數,以確保發動機在不同工況下都能高效、穩定地運行。 ECU對發動機噪音
2024-11-05 10:27:10
1071 發動機傳感器是現代汽車必不可少的部件,根據位置主要分為曲軸位置傳感器和凸輪軸位置傳感器,根據所應用技術主要分為電磁感應式傳感器、霍爾效應式傳感器和光電效應式傳感器。 在現代汽車工業中,發動機溫度
2024-12-24 14:05:12
1281 節氣門位置傳感器一方面用于檢測節氣門開度的角度作為發動機負荷的參考信號,另一方面反映節氣門開度變化的速度,從而反映駕駛員的駕駛意圖。對于自動變速器的電子控制系統
2025-02-17 15:59:36
2202 
評論