Forward Concepts的總裁兼首席分析師Will Strauss是一位跟蹤DSP領域已久的知名分析師,他最近指出,DSP事實上已經成為整個半導體產業的驅動力量,因為在隨時隨地接入互聯網和多媒體應用的新時代,DSP已經成為了底層的基礎技術。
的確,從ADI公司的DSP發展戰略就可以看到,DSP產品和技術已滲透到半導體應用的很多領域,而且隨著ADI這些DSP廠商不斷地推陳出新,所謂通用DSP和嵌入式DSP的用途界線不再那么涇渭分明,通用已體現出一定的相對性,即用途雖然廣泛,但是以應用為導向的。最新的通用DSP產品也體現出數字信號處理器正在不斷淡化其作為獨立芯片的特性,因為它們除了也走多核路線提高速度和處理能力之外,還根據目標應用“定制性”地整合了越來越多的其它電路,如控制、外設、總線、各種新興接口、高速緩存等。
這種整合體現了以應用為導向的技術開發戰略和市場戰略,正如ADI公司通用DSP部門總監Colin Duggan指出的,如今宏觀經濟的下滑使每個行業都面臨挑戰,但DSP業務的最大挑戰是選擇正確的投資和應用市場。
深耕DSP領域多年的ADI公司認為,現在和未來幾年與DSP技術相互推動的一些熱點應用市場特別值得關注:安防(包括智能視頻監控和無線視頻監控);測試測量和控制(如測試測量儀器、數據采集、電力線監控、馬達控制等各種工業控制應用);生物識別(如指紋);VoIP終端。
新興應用對DSP提出的特定需求
上述熱點市場可以說最需要DSP所具備的先進特性,也預示著會帶來更多機會,它們正變得更細分化,每個細分市場都有各自的特定需求。
安防稱得上是在DSP應用方面走在最前列的領域之一,它正在經歷更新換代過程,從以往用DSP進行視頻編解碼的普通DVR發展到實現人臉識別、車牌識別、包丟失處理、入侵偵測等功能,這些先進智能特性的實現都需要通過用DSP來實現大量先進的算法。
中國南京新奕天科技有限公司與香港大學合作開發出的視頻監控設備ThinkSmart V1就是一個典型的智能視頻監控應用例子。ThinkSmart V1通過監控現場視頻數據,對目標進行檢測、跟蹤、分類,并分析目標的行為,實時發送預警信息。當存在威脅或檢測到異常活動以及某種特定行為時,會即時發出預警。
通過已獲得專利的算法檢查視頻中的每一個像素,并識別所有像素的變化,如果在一個區域有很多像素發生變化,該軟件就認為這是一種移動。根據預定的策略和預警信息,對實時視頻和記錄視頻中的移動或變化的檢測會觸發多種警報接口,并轉發到蜂鳴或語音報警器、電郵或SMS信息,屏幕報警,或其他行為以警示相關部門。
無論在室內還是室外,甚至在光線很暗的情況下,ThinkSmart V1先進的視頻移動檢測功能能夠7*24小時連續不斷的精確檢測出多個移動目標,并能檢測目標速度、方向,以及大小。該算法還可定制以滿足特定的安全需求。例如,ThinkSmart V1能夠保護博物館的館藏,檢測目標何時丟失、改變位置、或違反規定的監視規則,如禁區、入侵檢測系統等。它還可以監控目標何時在何地停留了多長時間,這對在機場、火車站、地鐵站找出潛在的恐怖裝置尤為重要。
可以看到,多個圖像處理算法是ThinkSmart V1實現實時智能視頻監控的關鍵。因此,信號處理性能是新奕天在選擇處理器解決方案時的一個主要考慮。另外,可以支持多種外設并提供軟件開發工具的先進DSP技術也是考慮的關鍵。
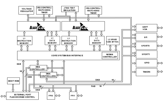
圖1:雙核數字信號處理器ADSP-BF561芯片內部功能方塊圖。
ADI公司的ADSP-BF561最后被選為支持這一解決方案的核心DSP技術。相對于與之競爭的其它DSP,BF561不僅提供了更好的性價比,還提供了更為獨特的雙核設計。新奕天可將圖像處理任務和系統控制任務分開在獨立的計算域中,獲得最穩定的實時性能。BF561的PPI用于將視頻傳入或傳出外設設備,而異步存儲器接口則用于連接Flash和LAN或RS232,允許用戶配置IVS并恢復對象和事件列表。
另外,移動通信產業的發展推動無線、移動視頻監控系統也跟著逐步興起,或基于GSM/CDMA、EDGE、3G網絡,或基于WiFi網絡。與有線系統不同,無線信道多變,帶寬窄,需要特別的高性能算法,才能實現穩定的功能。相比SoC和ASIC方案,DSP可方便、靈活地實現一些定制的高性能算法。
而且無線監控以及車載移動數字硬盤攝像機這類系統的一個特點是監控終端往往需要電池供電,因此對芯片的功耗提出了更高要求。而監控的無間斷性對DSP芯片乃至整個方案的可靠性也提出了更嚴苛的要求。
ADSP-BF561也很好地滿足了上述需求,除了具有兩個高性能的Blackfin處理器內核,還具有靈活的高速緩存架構以及增強的直接存儲器存取(DMA)子系統,適合執行復雜控制與信號處理任務,同時保持高速的數據吞吐量。此外,Blackfin處理器的動態電源管理能力顯著降低整個功耗。
圖2:基于CDMA網絡的典型無線視頻監控系統。
ADI公司嵌入式處理和數字信號處理第三方開發金牌合作伙伴合肥優視科技目前可提供基于ADSP-BF561的單路CDMA/EDGE/TD-SCDMA/WCDMA/WIFI無線H.264視頻監控產品成熟方案。如圖3所示,該方案通過一個DSP內核實現了獨特的雙碼流處理,支持閃存盤數據的備份;另一個DSP內核則用于運行uClinx操作系統、驅動程序和BSP控制軟件。
圖3:合肥優視科技的CDMA/WIFI無線H.264視頻監控產品成熟方案系統框圖。
在大批量的中端視頻安全監控市場,性價比是最關鍵的。Blackfin處理器在強大的單芯片上實現了數字信號處理與控制處理的完美結合,這一點非常重要,不僅可滿足性能目標,同時也幫助實現高性價比。實際上,對于單路無線視頻監控應用,從進一步節省成本的角度考慮,采用單核的Blackfin DSP如BF52x也能勝任。
新形勢下DSP的五大競爭法寶
除了安防領域的例子,Blackfin在生物(指紋)識別和VoIP應用上也獨樹一幟,擁有很多成功應用案例。BF 51X系列就是特別適合指紋識別的一個ADSP系列,具有合適的接口、合適的性能以及合適的價格。而在VoIP應用上,憑借Blackfin的高性能與世界頂級IP語音引擎嵌入式軟件提供商GIPS的合作,ADI如今也占據了優勢地位,可提供適應帶寬變化和具備高話音質量的VoIP電話開發平臺,并為開發者將設計升級到可視IP電話(Vedio over IP)提供了便利,因為Blackfin平臺天生的軟件靈活性和可擴展性使軟件代碼和開發工具都可以沿用下去,從而加快了上市速度和節省了開發成本。
從上述所有例子可以看到,DSP要想在這些新興熱點市場贏得競爭,必須像ADI Blackfin一樣具有以下五大競爭法寶:
1. 強大的圖像處理、運算和控制能力,適應智能和融合應用時代需求
Blackfin處理器架構非常優秀,能高效地進行視頻處理,能同時完成信號處理和控制任務,適應智能應用需求;其融合性架構可實現:多格式音頻、視頻、語言和圖像處理;多模式基帶和分組處理;控制處理和實時安全性。
2. 同時具備較高的性能/價格比、性能/功耗比、性能/面積比
ADI公司在新處理器設定性能目標時,注重的不僅是DSP的時鐘頻率和處理能力,還包括處理器必須提供的其它方面,如性能價格比、性能功耗比、性能面積比。如Blackfin系列處理器提供了業界領先的定點性價比以及單位毫瓦性能。ADI將通過最新的CMOS深亞微米工藝尺度、更深的流水線、多內核、每個核心更多的計算單元,以及充分利用信號處理加速引擎,繼續提高Blackfin系列的性能,增強它們在性價比和性能功耗比方面的領先地位。
3. 軟件開發的可升級性和可擴展性
前代和后代DSP產品具有軟件和開發環境的兼容性,以節省設計升級的時間和成本。
4. 芯片具備高品質,能保證系統高可靠性穩定運行
如DSP芯片質量可靠、溫度范圍寬、抗干擾能力強等,可適應各種環境條件苛刻的應用。
5. 世界級的開發工具和大量的本地第三方合作伙伴
除了自己設計制造完善的軟硬件開發工具,ADI公司還大力支持第三方合作伙伴,設計出適合本地的開發工具和系統方案。在中國ADI與北京億旗創新、東方迪碼、深圳市英蓓特、華恒科技等第三方的合作包括開發板和仿真器,讓高質量的本地工具和ADI世界級的工具鏈組成高效易用的開發工具,同時向用戶提供針對各種熱點應用的參考設計和交鑰匙解決方案,幫助用戶實現成功的設計和縮短產品上市時間。
電子發燒友App












評論