隨著現代信息技術的飛速發展,分布式溫度測量控制系統在工業、農業及人們的日常生活中扮演了一個越來越重要的角色。因此,對溫度采集控制系統的設計與研究就具有十分重要的意義。
系統總體設計方案
TMS320F2812是TI公司推出的150MHz高速處理能力的高精度定點數字信號控制器。本設計采用TMS320F2812作為數據處理與控制單元,以Maxim公司的單線數字溫度計DS28EA00為基礎,通過DSP控制溫度傳感器順序采集各個測量點的溫度,經處理送LED顯示并暫存到外擴RAM中,當滿足特定的要求時,將數據存儲到U盤或SD卡以便于以后分析處理。溫度采集記錄儀的硬件電路主要包含6個部分:DS28EA00溫度測量模塊、USB接口模塊、SD卡接口模塊、外擴RAM模塊、LED顯示模塊和TMS320F2812數字信號處理模塊,系統總體框圖如圖1所示。

圖1 系統總體框圖
系統硬件設計
1 DS28EA00溫度測量模塊
① 溫度傳感器選型
實際環境復雜多變,通常要求溫度傳感器能夠與DSP可靠地通信,易與供電及布線,并能明確區分出溫度數據與溫度傳感器位置的對應關系,因此溫度傳感器的選型十分關鍵。傳統的模擬溫度傳感測量系統測量精度低、布線復雜、易受干擾,而新型單片數字式溫度傳感器測量精度高、抗干擾能力強,應用范圍越來越廣。
DS28EA00是業界首款具有鏈路功能的1-Wire數字溫度傳感器,具有9位(0.5℃)~12位(1/16℃)分辨率,且帶有可由用戶編程設置的非易失(NV)性溫度上、下限報警觸發點,報警搜索命令能夠快速確定溫度超出設定范圍的器件。每個DS28EA00都具有工廠預先刻度的唯一64位序列號,只需一根數據線和地線就可通過1-Wire協議完成串行傳輸數據,支持 15.3kb/s的標準通信速率和125kb/s(最大值)的高速通信速率。經改進的1-Wire接口具有滯回和干擾濾波特性功能,使得DS28EA00能夠在大的1-Wire網絡中可靠工作。并且,與其他1-Wire溫度計不同,DS28EA00具有兩個額外的引腳用以執行順序檢測功能。該特性允許用戶將器件在鏈路中的物理位置與序列號對應,如用來測量貯存塔不同高度處的溫度。DS28EA00的供電和數據通信都是借助這條1-Wire線完成的。
DS28EA00內部包括三個主要數據部分:(1)64位序列號,(2)64位暫存器,(3)報警和配置寄存器。所有1-Wire系統都有一個重要的基本特性:每個從機都有一個唯一、不能更改(ROM)的64位、工廠激光刻制序列號(ID),這個序列號永遠不會與另一個器件重復。1-Wire ROM Function Control(1-Wire ROM功能控制)單元處理ROM功能命令,允許器件可以工作在一個多點網絡環境中。Device Function Control(器件功能控制)單元用于實現對器件的特定操作和控制,如實現讀/寫、溫度轉換、設置順序檢測的鏈路狀態。8bit CRC生成器在讀取溫度和寄存器數據時協助主機檢驗數據完整性。DSP通過GPIO口與DS28EA00的1-Wire(1線接口)總線接口相連進行通信,如圖2所示。

圖2 測溫模塊原理圖
② DS28EA00的序列檢測硬件電路連接
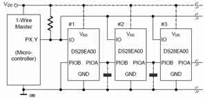
DS28EA00的鏈路功能允許1-Wire主機檢索以線性網絡(“鏈”)方式連接的器件,找出其物理順序,這對于那些沿長電纜等間距安裝的器件是非常方便的。鏈路功能需要兩個引腳,輸入引腳(EN)使器件在檢測過程中能對檢測做出響應,而輸出引腳(DONE)用于通知鏈路中的下一個器件其相鄰器件的檢測已完成。
DS28EA00的兩個通用端口被復用以實現鏈路功能。PIOB被復用為EN輸入,PIOA產生DONE信號并與下一個器件的EN輸入相連,鏈路中第一個器件的EN輸入需連接至GND,序列檢測時的連接(由DSP充當1線主機)如圖3所示。

圖3 DS28EA00序列檢測硬件電路連接(鏈路功能)
2 USB接口模塊。
本系統采用Cypress公司生產的嵌入式USB接口芯片SL811HST,內含USB主/從控制器,支持全速(full-speed)/低速(low-speed)數據傳輸,并能自動識別低速或者全速設備,SL811HST所提供的接口可與微控制器、DSP相連。此外,SL811HST內部有一個256字節的RAM,可用做控制寄存器或數據緩沖器。本系統中USB設備映射TMS320F2812外擴0區域,USB接口模塊硬件電路圖如圖4所示。

圖4 USB接口模塊硬件電路圖
3 SD卡接口模塊
目前市場上已出現了容量高達GB容量的SD卡,可以通過SPI口或并行(SD)接口與主機通信,另外還提供額外的引腳用來檢測卡的存在以及是否寫保護。在SPI總線模式下,CS為主控制器向卡發送的片選信號,SCLK為主控制器向卡發送的時鐘信號,DI(Data In)為主控制器向卡發送的單向數據信號,DO(Data Out)為卡向主控制器發送的單向數據信號。若想更高速的通信則選擇SD模式通信,可以采用GPIO接口滿足特定的SD規范。
系統軟件設計
系統軟件設計是本文的重點,主要包括三部分內容:DSP與DS28EA00的通信、DSP與SD卡的通信,DSP與USB設備的通信。
1 DSP與DS28EA00的通信
DS28EA00需要嚴格的通信協議確保數據的完整性,該協議在一根線上定義了四種類型的信號:由復位脈沖和在線應答脈沖組成的復位序列、寫0、寫1、讀數據。DS28EA00能以標準速率或高速兩種不同的速率進行通信,且所有波形均采用快速定時。DSP通過1-Wire端口訪問DS28EA00的操作流程如下。
● DS28EA00初始化
1-Wire 總線上的所有操作均從初始化開始,初始化過程由DSP發送的復位脈沖和從器件發送的在線應答脈沖組成,在線應答脈沖用于通知DSP DS28EA00已掛接在總線上并已準備就緒。
● ROM功能命令
一旦DSP檢測到在線應答脈沖,就可以發出DS28EA00支持的8條ROM功能命令中的一條,所有ROM功能命令的長度均為8位。
● 控制功能命令
控制功能命令用于實現溫度測量、訪問寄存器和PIO、改變鏈路狀態所需的協議。DSP與DS28EA00之間的通信可采用標準速率(默認狀態,OD=0),也可用高速模式(OD=1)。上電后,如果沒有明確設置為高速模式,DS28EA00則以標準速率進行通信。
● 數據的收發
DS28EA00的數據通信是在一個個時隙中進行的,每個時隙只能傳送1bit數據。通過寫時隙將數據從DSP傳輸至DS28EA00,而通過讀時隙則將數據由DS28EA00傳輸至DSP。除在線應答脈沖之外,所有的通信都是從主機(DSP)主導發出下降沿信號開始。當1-Wire總線上的電壓跌落至低于門限電壓時,DS28EA00利用其內部時隙發生器,確定在寫時隙期間何時對數據線進行采樣以及在讀時隙時數據有效時間的長短。
2 數據存儲
① U盤數據存儲
通過DSP實現對USB移動存儲設備操作的工作主要是在軟件方面,因此本文主要從軟件方面來說明設計過程。USB軟件設計主要由通用的USB總線枚舉部分和USB Mass Storage類協議軟件設計和文件系統組成,U盤數據存儲流程圖如圖5所示。

圖5 U盤數據存儲流程圖
U盤數據存儲的部分代碼如下:
(1)unsigned char EnumUsbDev(BYTE usbaddr) //枚舉USB設備
{USB_Reset(); //USB設備復位
if (!GetDescription()) // 獲取設備描述符并獲得傳輸包的最大字節數
return FALSE;
if (!SetAddress(usbaddr))
// 設置USB設備的地址
return FALSE;
if (!GetDescription ())
// 重新獲取設備描述符
return FALSE;
if(uDev.bClass==8)
//是否是大容量存儲設備
bFlags.bits.bMassDevice=TRUE;}
(2)unsigned char EnumerateMassDevice(void)
//枚舉大容量存儲設備
{DeviceInformation.BPB_BytesPerSec=512;
//暫假設每個扇區為512字節
if(!RBC_Read(DeviceInfomation.StartSector,0,DBUF)) //讀取U盤DBR區了解U盤的基本信息
return FALSE;
DeviceInfo.BPB_BytesPerSector=LSwapINT16(DBUF[10],DBUF[11]); //讀取U盤每扇區字節數
DeviceInfo.BPB_SecPerCluters=DBUF[12]; //讀取U盤每簇扇區數
ReservedSectorsNumbers=LSwapINT16(DBUF[13],DBUF[14]); //讀取U盤保留扇區數
DeviceInfomation.BPB_NumFATs=DBUF[15];} //讀取U盤FAT表的份數
② SD卡數據存儲
SD卡數據存儲軟件設計主要包括兩部分:SD卡的上電初始化過程和對SD卡的讀寫操作,其工作步驟如下。
● 配置TMS320F2812的SPI接口,然后檢測是否有SD卡插入。為調試方便將SD卡接口的Vss2引腳接地。
● 當檢測到SD卡的存在后系統連續發送10次0xFF00使SD卡的DATA IN引腳保持至少74個時鐘周期以實現系統上電初始化。
● SD卡初始化,注意此時SPI接口的通信速度應在100kHz到400kHz左右,以滿足SD卡通信協議的要求。
● 系統與SD卡通信。此時可以提高SPI接口的通信速率。
SD卡數據存儲流程圖如圖6所示。

圖6 軟件系統流程圖
3文件系統
為了便于對采集的數據進行處理,需要設計一個兼容FAT16、FAT32文件格式的文件管理系統,并將數據存儲到U盤或者SD卡。
文件系統的數據分為五 部分:MBR區、DBR區、FAT區、DIR區和DATA區,由于U盤或者SD卡不要求啟動,因此可以沒有MBR區,只包含DBR、FAT、DIR和DATA四個區。
系統分析
1 性能指標
經過反復測試后得出:系統能穩定的采集溫度數據并快速的存儲至U盤和SD卡,具體性能指標如下。
● DSP與DS28EA00 的通信速率:標準通信速率為15.3kb/s,高速通信速率為125kb/s;
● DSP與U盤的通信速率約為600KB,與SD卡的通信速率約400KB。
2 系統抗干擾性能分析
在1-Wire系統中,僅DSP在信號瞬變期間進行控制才可能實現線路終端匹配。因此,1-Wire網絡很容易受到其他噪聲的影響。根據網絡的物理形狀大小和拓撲結構的不同,從端點到分支點的反射可能會在一定程度上相互疊加或抵消,如同1-Wire通信線路上的毛刺或振蕩一樣,這樣的反射也是不容忽視的。從外部源耦合到1-Wire線路上的噪聲也產生信號毛刺。時隙上升沿時出現的毛刺可能會引起從器件與不同步,結果會造成Search ROM命令無效,或導致器件級命令被忽略。為提高網絡性能,DS28EA00采用了一種新型的1-Wire前端,它對噪聲的免疫力更強,可以降低從器件引入的噪聲的幅度。DS28EA00的1-Wire前端較之傳統溫度傳感器的前端有以下不同。
● 在線應答脈沖的下降沿斜率是受控制的,這樣提供了比數字開關晶體管更好的傳輸線阻抗匹配,將來自傳統器件的高頻振蕩轉換為更平滑的低頻瞬變。斜率控制由參數tFPD(器件存在下降時間)指定,針對標準速度和高速模式,具有不同的取值。
● 該電路中增加了一個低通濾波器,用于檢測時隙開始時的下降沿,這樣可降低器件對高頻噪聲的敏感度。
● 高低開關門限VTH具有一個滯回。如果一個負毛刺的電壓低于VTH,但不低于VTH-VHY時,就不會判定為負脈沖(如圖7 Case A),滯回在任何1-Wire速率下均起作用。
圖7 噪聲抑制示意圖 結語
● 該系統具有一個tREH(上升沿拖尾時間)定義的時間窗口,在這個窗口內,即使毛刺電壓低于門限VTH-VHY(如圖7 Case B,tGL
該溫度采集記錄儀不但可以穩定的采集溫度數據而且可以快速的將數據存儲到U盤或者SD卡,便于以后分析處理,特別適合環境比較惡劣地區的溫度采集,為溫度采集與數據存儲提供了一個理想的解決方案。
電子發燒友App















評論