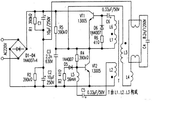
常見故障1. VTl、VT2擊穿進而導致D1-D4被擊穿,此時將引起電源短路;2.R4偏置損壞; 3.振蕩電路中L5.L6易損壞;4.負載電路中C24因高壓易被擊穿。最后特別說明,目前市場上所見的各種40W、32W節能日光燈以及各種環形燈,均可參考此電路進行分析。
- 圖文32(5668)
- 流器剖析(5512)
相關推薦
熱點推薦
18W LED日光燈的電路圖
LED光源陣列設計為0.06W白光LED(SMT或草帽燈)24個串聯、12串并聯的方案,驅動288個小功率WLED,總功率18W。全電壓18W LED日光燈開關恒流源的設計電路如圖所示,其各部分的功能如紅字
2010-07-29 09:17:46
42845
42845
LED日光燈電源設計十大關鍵點
LED日光燈電源是LED日光燈中非常重要的一個部件,要是選擇不當,LED日光燈發揮不出他應有的性能,甚至還有可能不能正常照明使用。下面我就LED日光燈照明做了一些小小的建議,供大家參考參考。
2014-05-16 10:15:40
1556
1556點亮6~12W日光燈的逆變器電路
開燈時逆變器工作,產生100V左右的高頻交流電,點亮12W的日光燈管。變壓器參數為9 V/10W,蓄電池參數為9 V/0.65 Ah。若電路中使用6~8 W的日光燈管,變壓器可換用9 V/6 W,蓄電池用6 V/4
2011-10-21 11:20:44
9978
9978
20W LED日光燈驅動電路
電路方案如圖2,全電路由抗浪涌保護、EMC 濾波、全橋整流、無源功率因素校正(PFC)、降壓穩壓器、PWMLED 驅動控制器、擴流恒流電路組成。圖2 全電壓20W 日光燈開關恒流源方案圖剖析全電壓
2011-01-11 16:52:11
日光燈的結構造成
日光燈電路由燈管、鎮流器、啟輝器、單相電度表以及HK2二相刀開關等部件組成,主要部件簡介如下。1、燈管日光燈管是一根玻璃管,內壁涂有一層熒光粉(鎢酸鎂、鎢酸鈣、硅酸鋅等),不同的熒光粉可發出不同顏色
2016-06-12 16:37:42
日光燈頻閃的危害與消除方法 電子資料
雖然說現在的日光燈大都采用電子鎮流器而不再有頻閃的現象,但做為電子愛好者還是有必要了解什么是日光燈頻閃以及解決辦法。日光燈頻閃,只會在采用電感式鎮流器的日光燈電路中出現,因為市電頻率是50赫茲,導致燈管每秒鐘...
2021-04-20 06:57:19
LED日光燈內置式的缺點和問題的嚴重性
60cm和120cm、150cm三種,其功率分別為10W、16W和20W,而20W傳統日光燈(電感鎮流器)實際耗電約為53W,40W傳統日光燈(電感鎮流器)實際耗電約為68W。 目前,幾乎市場上所有
2012-12-12 15:23:09
LED日光燈電源方案選擇
本帖最后由 eehome 于 2013-1-5 09:50 編輯
LED日光燈作為最主要的照明燈具,必將隨著LED燈的普及進程而在市場上大放光彩。LED日光燈驅動電源是影響產品壽命的關鍵因素
2012-09-28 13:56:58
LED日光燈電源方案選擇
本帖最后由 eehome 于 2013-1-5 09:53 編輯
LED日光燈作為最主要的照明燈具,必將隨著LED燈的普及進程而在市場上大放光彩。LED日光燈驅動電源是影響產品壽命的關鍵因素
2012-10-07 23:27:13
LED日光燈的作用
日光燈(CFL),其附加鎮流器耗電8W,工作時實際耗電44W,照亮流明為420lm,使用壽命3千小時。而同樣規格的LED日光燈,工作時實際耗電僅16W,照亮流明為550lm,使用壽命可達3萬小時
2016-06-12 16:10:04
LED日光燈設計的要求
LED日光燈設計的要求日光燈管在日常生活中有廣泛的應用,超市、學校、辦公市、地鐵等等,但凡能見得著的公共場所,都能見到日光燈的大量使用!LED日光燈的省電節能性能,經過長時間的大量宣傳,大家均已
2009-12-01 15:43:34
內置式LED日光燈電源的問題分析
6.4W(Philip)到10W(國產)的損耗,結果由于這部分的額外損耗就大大降低了LED的節電功效。例如,本來一個20W的LED日光燈可以取代一個36W的熒光燈,以內置非隔離式的20WLED日光燈為例,實測結果如下。(b)電子鎮流器[此貼子已經被作者于2010-11-22 20:49:05編輯過]
2010-11-22 20:45:47
基于單片機的教室日光燈自動控制器的設計的有關問題
我想通過I/O口來輸出PWM波,用來控制日光燈的亮滅,但是不知道日光燈的燈管,啟輝器,鎮流器怎么與此圖連接,求高手幫忙
2013-04-23 23:31:00
電子日光燈的的原理與制作資料推薦
電子日光燈電路原理圖如下圖所示,我們將日光燈管以外的電路稱為電子鎮流器。電子鎮流器的作用是將50Hz交流220V市電變換為50kHz高頻交流電,再去點亮日光燈管。
2021-04-28 06:14:29
自制LED日光燈
(0.6米LED日光燈發光能達到900LM以上)實測功率只有11.1W功率因數達到0.93(注意:功率因數越高對其實家用電器干預越?。┯脗鹘y日光燈做對比啟動時閃了7下才能啟動18W燈管工作時實測功率居然達到29.93W功率因數0.439
2013-09-15 00:42:25
LED日光燈優缺點比較
LED日光燈優缺點比較
相對于熒光燈來說,LED日光燈具有10大優點:1.發光效率高:熒光燈的發光效率大約是55-80 lm/W(Philips公司T8熒光燈的發光效率為72lm/W
2010-04-10 10:46:48
73
73日光燈電路及功率因數的提高
實驗一 日光燈電路及功率因數的提高 一、實驗目的1. 了解日光燈的工作原理;2. 了解提高功率因數的意義;3. 掌握提高感性負載
2008-09-24 14:03:22
79253
79253
LC日光燈啟動電路圖
LC日光燈啟動電路圖
&n
2009-07-28 15:51:25
2919
2919
斷絲日光燈啟動電路圖
斷絲日光燈啟動電路圖
&nbs
2009-07-28 15:58:29
3025
3025
日光燈電子鎮流器電路圖
日光燈電子鎮流器電路圖
&
2009-07-28 16:19:37
4783
4783
取消鎮流器日光燈
取消鎮流器日光燈因為鎮流器是電感元件,造成電路功率因素偏低,以40W日光燈為例,用鎮流器組合而成的常規電路,其功率因素約0.6左右。這種呈感性的工作電
2009-08-18 16:52:44
1849
1849
日光燈鎮流器過熱的改進辦法
日光燈鎮流器過熱的改進辦法當市電電壓超過240V時,日光燈鎮流器出現“吱吱”的響聲;夜晚市電超過250V時,可聞到鎮流器發出的胡椒味。這一般是由于鎮流器
2009-08-18 17:28:28
1476
147612WLED日光燈與60WT9東芝日光燈實際照度數據比較
12WLED日光燈與60WT9東芝日光燈實際照度數據比較
800MM的照度數據:T9 泰國產東芝日光燈 12W AOD-LED日光燈 ① 650LX&nbs
2009-11-13 09:40:54
2593
2593LED日光燈與傳統的日光燈
LED日光燈與傳統的日光燈
采用CREE與AOD超高亮LED白光作為發光光源,外殼為亞克力/鋁合金(客戶定義)?! ED日光燈與
2009-11-14 10:29:35
1450
1450MR9830制作的日光燈和節能燈的電子鎮流器電路
MR9830制作的日光燈和節能燈的電子鎮流器電路
MR9830可用作日光燈和節能燈的電子鎮流器。具體電路如圖2所示。
2009-12-07 23:01:09
1862
1862
用TWH8751制作直流日光燈及電路
用TWH8751制作直流日光燈及電路
一般直流日光燈采用分立元件組成,而這個電路由TWH8751功率開關加幾個外圍元件組
2009-12-15 17:03:23
3437
3437
龍茂公司推出三種可調光LED日光燈和隧道燈
龍茂公司推出三種可調光LED日光燈和隧道燈
上海龍茂微電子有限公司近期推出數款可調光LED日光燈。過去的熒光燈雖然發光效率比較高,
2010-01-28 09:30:47
1392
139220W日光燈開關恒流源參數及特性(有BOM)
20W日光燈開關恒流源參數及特性(有BOM)
基本特性 交流非隔離式高頻開關降壓恒流模式 &
2010-03-16 11:28:09
2219
2219
6W-30W非隔離LED日光燈設計及應用
6W-30W非隔離LED日光燈設計及應用
LED日光燈相比傳統日光燈可以節電至少30%以上,且壽命方面是傳統日光燈的5~8倍。目前日光燈的設計局限主要在散
2010-03-18 09:24:06
1022
10226W-30W非隔離LED日光燈設計和應用
6W-30W非隔離LED日光燈設計和應用
LED日光燈相比傳統日光燈可以節電至少30%以上,且壽命方面是傳統日光燈的5~8倍。目前日光燈的設計局限主要在
2010-04-01 10:18:19
1542
1542LED日光燈設計原理及實現方案
LED日光燈設計原理及實現方案
日光燈作為一種光亮柔和而有效的光源在全世界廣受歡迎,無論是在家居、商店、辦公室、學校、超市、醫院、劇場
2010-04-01 15:52:26
2856
2856PT4107_DB03全電壓20W日光燈開關恒流源的特性及原理
PT4107_DB03全電壓20W日光燈開關恒流源的特性及原理
基本特性
交流非隔離式高頻開關降壓恒流模式
 
2010-04-01 16:40:14
5308
5308
用KA7522D作為控制器的32W雙管熒光燈電子鎮流器電路
用KA7522D作為控制器的32W雙管熒光燈電子鎮流器電路
如圖所示為用KA7522D作為控制器的32W雙管熒光燈
2010-09-16 11:59:36
1983
1983
基于FT880的非隔離LED日光燈應用方案
在LED照明中,LED日光燈替換傳統日光燈的趨勢日漸明朗。LED日光燈相比傳統日光燈可以節電至少30%以上,且壽命方面
2010-11-13 10:02:28
2180
2180
點亮6~8W日光燈的逆變器原理圖
該電路適用于點亮6~8 W的日光燈管,其電路的各參數均標注在圖中。當使用6 W普通日光燈時,供電電壓為6~12 V,電流為0.3~0.6 A,燈管兩端非啟動時電壓約45~65V。點亮6~8W日光燈的
2011-10-21 11:29:30
8475
8475
淺談LED日光燈電源設計十大關鍵
LED日光燈電源是LED日光燈中非常重要的一個部件,要是選擇不當,LED日光燈發揮不出他應有的性能,甚至還有可能不能正常照明使用。下面我就LED日光燈照明做了一些小小的建議,供大家參考參考。
2013-04-03 10:27:43
1912
1912日光燈的安裝接線方法_日光燈線路圖詳解
日光燈是如何工作的?在日光燈電路中,電流從插頭的左側插腳開始,流經整流器、燈管的一根燈絲、啟輝器中閉合的開關和燈管中的另一根燈絲,最后從插頭的右側插腳流出。電流會加熱日光燈管兩端的兩個小元件,然后啟輝器打開使電流通過日光燈。
2017-12-21 19:31:58
108968
108968
日光燈如何發明的_日光燈工作原理及接線圖
日光燈又名熒光燈,所以日光燈就是熒光燈。日光燈俗稱“電棒”,就是細長圓柱形的白色不透明玻璃管,(燈管內的白色物質就是引起發光的熒光粉,所以也叫熒光燈),兩端還各有兩個細腿的那種,因為照出的光線和太陽照的一樣不會引起物體變色,所以叫日光燈。
2017-12-22 09:12:58
50128
50128日光燈長度一般有哪些_日光燈管長度尺寸標準
日光燈的使用已經是隨處可見了,那么日光燈都有哪些特性呢?日光燈的長度一般都有哪些呢?跟隨小編一起來了解一下日光燈的尺寸標準吧。
2017-12-22 09:36:22
54489
54489白熾燈_日光燈_LED的發光原理介紹
目前白熾燈、日光燈和LED燈已經我們生活中得到了普遍的運用,本文主要對了白熾燈、日光燈和LED燈它們三者之間的發光原理。
2018-01-17 11:07:35
26414
26414日光燈的安裝方法及改造安裝方法
LED日光燈具有亮度高、耗電少、壽命長等特點,正在慢慢取代傳統日光燈(熒光燈)的位置,使用LED日光燈將能為您帶來更大的經濟效益和社會效益。對于剛接觸LED日光燈的朋友來說,但正確的安裝LED日光燈的方法也很迷惘。下面我跟大家分享一下安裝LED日光燈經驗與方法。
2018-01-17 15:20:46
73894
73894
白熾燈和日光燈有什么區別_白熾燈和日光燈的區別
本文主要介紹了白熾燈組成結構,對白熾燈的優點和缺點進行了詳解,其次介紹了日光燈的工作原理與日光燈的選用原則,最后介紹了白熾燈和日光燈的區別。
2018-01-17 16:54:21
33368
3336820W的日光燈電路圖(220V電子鎮流器電路圖),Ballast circuit
20W的日光燈電路圖(220V電子鎮流器電路圖),Ballast circuit
關鍵字:20W的日光燈電路圖(220V電子鎮流器電路圖)
20W日光燈電子鎮流器電路圖
2018-09-20 18:45:16
4275
4275不用啟動器的日光燈啟動裝置電路
通常日光燈控制裝置有兩種:一是采用電子鎮流器,二是采用電感鎮流器,采用電感鎮流器的日光燈控制線路需要啟動器,而啟動器壽命一般為5000次,每開啟一次日光燈,啟動器需要啟動兩三次,若在電壓低、氣溫低的情況下啟動次數還要增加,甚至不能啟動。
2019-01-29 07:33:00
11550
11550
電子日光燈的的原理與制作
電子日光燈電路原理圖如上圖所示,我們將日光燈管以外的電路稱為電子鎮流器。電子鎮流器的作用是將50Hz交流220V市電變換為50kHz高頻交流電,再去點亮日光燈管。
2019-02-06 18:50:00
14386
14386
LED日光燈和普通日光燈的區別
現在提倡節能減排,很多的家庭都換掉了過去的普通日光燈,換上了LED日光燈,但是你們究竟知道它們的區別在哪里嗎?它們的區別可不單單只是換了一個名字。
2018-10-31 14:09:25
18596
18596日光燈為什么需要鎮流器限流
日光燈之所以發光,是因為它的燈管內部有水銀蒸汽和少量的惰性氣體,管壁上還有熒光粉。所以日光燈點燃時,需要一個高電壓才能激發水銀蒸汽粒子運動產生白光。點燃后正常發光時燈絲只允許通過不大的電流,這時要求加在燈管上的電壓低于電源電壓。
2018-12-31 15:21:00
13114
13114日光燈電子鎮流器的常用方法及檢修注意事項
日光燈電子鎮流器與電感式的相比,重量輕,便于懸掛;低壓易啟動;發光無閃爍,最突出的優點是節能。很多產品的電子鎮流器分成兩部分放在燈架兩頭,連同燈架一體銷售,安裝更容易,只要插上燈管,接人市電,便可使用。
2019-08-12 15:09:45
11488
11488
日光燈工作原理及常見電路圖
日光燈是一種利用氣體放電而發光的電光源,以其發光效率高、使用壽命長、光線更接近自然光而備受歡迎。日光燈照明電路主要由日光燈管、鎮流器、起輝器組成。
2019-09-11 11:00:51
105239
105239
LED日光燈如何安裝
.安裝時將原有的日光燈取下換上LED日光燈,并將鎮流器和啟輝器去掉(LED自帶恒流源,不需要鎮流器、啟輝器),讓220V交流市電直接加到LED日光燈兩端即可。
2019-09-17 15:49:54
8845
8845日光燈做電視機交流穩壓器電路
有些地方電網電壓報不穩定,致使電視機不能正常收看,如果將40w或30w日光燈線路略微改裝,就可以兼做電視機交流穩壓器,且不影響日光燈正常使用,線路如圖所示。當需作為日光燈照明使用時,波段開關的兩組觸
2020-05-03 16:23:00
3749
3749
電感鎮流器的相關標準介紹
日光燈電子鎮流器與日光燈配套使用,為保證日光燈能正常點燃,并達到各項性能指標,電感鎮流器應符合國標GB15143和GB/T 15144的要求。
2021-07-06 02:07:11
2249
2249LED日光燈與傳統日光燈有什么區別和優勢
在現代的生活中,燈具的發展越來越好了,不僅造型更多樣了,功能也是越來越全。今天我們一起來看一看,LED日光燈
與傳統日光燈之間有什么區別與優勢呢?
日光燈就是我們常說的熒光燈。是利用低氣壓的汞
2023-02-15 16:06:07
1
1日光燈電子鎮流器的電路原理
日光燈用的電子鎮流器是將交流220V電壓經過電子振蕩電路轉換成數十KHz的高頻交流電壓,從而點亮日光燈管,下面來看一個日光燈電子鎮流器的電路工作原理。
2023-04-27 16:56:09
16967
16967
南麟 日光燈應用 方案
日光燈應用基于LN2541的非隔離LED日光燈應用方案——18W恒流驅動(24串12并)1.簡介本文是一份基于LN2541設計的低成本非隔離LED日光燈應用方案報告。LN2541是一款驅動LED的恒
2022-04-18 17:14:15
1186
1186
電子發燒友App




























評論