普通電子管功率放大器的輸出負載為動圈式揚聲器,其阻抗非常低,僅為4~16Ω,而一般功放電子管的內阻均比較高,在普通推挽功放中屏極至屏極的負載阻抗一般為5~10kΩ,故不能直接驅動低阻抗的揚聲器,必須采用輸出變壓器來進行阻抗變換。
2017-10-24 08:52:17
21599 
行輸出變壓器,也叫逆程變壓器,包含低壓,高壓繞組;行回掃變壓器,俗稱高壓包,行變。
2024-02-26 15:31:56
3136 
555行輸出變壓器短路檢測器電路原理圖
2009-10-09 08:50:53
變壓器副邊有源箝位式ZVZCS FB PWM變換器主電路分析分析了一種變壓器副邊采用有源箝位的ZVZCS全橋移相式PWM變換器的主電路拓撲結構。該變換器適合于高電壓、大功率(>10
2009-12-16 10:48:29
如上圖,在simulink中仿真推挽變換器的時候,這種多繞組變壓器,參數怎么設置啊
2020-11-29 20:52:14
一種路徑,采用磁集成方法,對1MHz雙向CLLC變換器的變壓器進行研究、設計與測試,通過優化PCB繞線方法、進行仿真優化,提出了一種分段氣隙的變壓器結構,通過Maxwell瞬態場、渦流場求解器仿真
2025-03-27 13:57:27
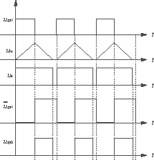
三相階梯波逆變器輸出變壓器繞組連接方式及電壓波形如圖,(a)為三相階梯波逆變器輸出變壓器繞組連接方式;(b)圖為其輸出波形。
2009-10-24 09:39:50
半橋變換器的隔直電容對變壓器偏磁的自動平衡很巧妙,為什么推挽不能采取同樣的措施呢??學生party一枚剛學電源求解答!!
2017-03-16 22:14:38
有誰知道創維29T66AA彩電的行輸出變壓器型號,機芯是5800-A5T361-01,芯片是8829CSN,原裝型號丟了,麻煩大家告訴我一下
2011-06-20 14:00:57
單端音頻輸出變壓器鐵芯都留有磁縫,磁縫大小直接影響鐵芯磁路的工作點。工作點過高(磁縫過小),小音量聽音還可以,音量稍大,信號的正半周就會進入鐵芯的磁飽和區,使輸出失真劇增,音樂的層次感和透明度下降
2011-03-05 22:59:58
反激變換電路由于具有拓撲簡單,輸入輸出電氣隔離,升/降壓范圍廣,多路輸出負載自動均衡等優點,而廣泛用于多路輸出機內電源中。在反激變換器中,變壓器起著電感和變壓器的雙重作用,由于變壓器磁芯處于直流偏磁狀態,為防磁飽和要加入氣隙,漏感較大。
2019-10-08 14:26:45
主要內容
磁性元件對功率變換器發展的重要性
反激式變壓器的設計考慮
反激式變壓器雜散參數的效應
反激式變壓器的磁(場)特性-感性效應
反激式變壓器的電(場)特性-容性效應
獲取完整文檔資料可下載附件哦
如果內容有幫助可以關注、點贊、評論支持一下哦~
2025-07-01 15:32:20
用C型鐵芯控制變壓器改制電子管音頻輸出變壓器,其品質與功率相同的成品音頻輸出變壓器難分伯仲,尤其在清晰度、結像力,大動態等方面要勝一籌,此法無需改繞線圈,有趣者不妨一試。
2021-05-11 06:35:33
由于單端輸出變壓器至少要工作于20Hz-30kHz甚至更寬的音頻范圍內,因此,一方面要求電感量大些,以獲得良好的低頻響應,必須增大鐵芯截面積;另一方面,要求漏感和分布電容盡可能小,以便得到良好的高頻
2021-05-11 07:30:29
本帖最后由 eehome 于 2013-1-5 10:09 編輯
工程師挑選的輸出變壓器制作資料
2011-08-12 22:56:07
小蝦米是剛剛入門的新手~~~一直在學習定壓功放的電路,最近手上多了一臺100W的定壓功放,拆出來一看只有電源變壓器,沒有輸出變壓器,因為沒有見過~~所以研究起來很吃力。。。采用的是雙NJW0320
2015-11-19 16:30:10
正激變換器中變壓器的設計
2012-08-13 15:33:21
正激變換器中變壓器的設計
2012-08-14 15:16:56
麻煩各位師傅告訴我一下創維29SA9000彩電行輸出變壓器的型號,機心型號是5800-A4P360-02。
2011-06-05 17:55:09
直流變換器中的微型變壓器把微型變壓器D用在工作在2MHz的全橋式直流變換器中。圖6繪出測量和計算得輸入電流(Iin)與輸出功率(Pout)同輸入電壓(Vin)的關系曲線。當Vin=4.5V時得到最大輸出
2011-07-09 16:15:26
序:膽機上使用的Hi-Fi輸出變壓器是高保真音響設備中的關鍵元件,其自制時,相關技術要求、繞制數據、制作工藝以及硅鋼片、漆包線等的品質均直接影響膽機的音質效果和音量。所以,廣大音響愛好者倍加重視膽機
2016-02-15 16:25:40
行輸出變壓器匝間短路測試儀電路圖
2009-10-14 16:45:28
在變壓器原邊的波形是圖中的樣子是否會造成變壓器偏磁,也許波形不太多
2015-07-15 17:20:18
長虹各型行輸出變壓器引腳功能對照表:BSC68N,BSC68P,BSC69A,BSC70A
2008-06-10 01:17:44
94 晶體管電視接收機行輸出變壓器的設計:行輸出變壓器的輸入信號,行輸出變壓器的負載,行輸出變壓器的鐵心,行輸出變壓器的調諧,高效行輸出變壓器的設計等內容。
2008-12-12 01:39:17
55 輸出變壓器的設計
2009-01-12 16:47:31
0 詳細介紹了高頻開關電源中正激變換器變壓器的設計方法。按照設計方法,設計出一臺高頻開關電源變壓器,用于輸入為48V(36~72V),輸出為2.2V、20A的正激變換器。設計出的變壓器在
2009-07-04 09:50:37
69 分析了導致SPWM 逆變器輸出變壓器偏磁的幾種主要因素:控制系統引起的偏磁,驅動電路元件參數的分散性引起的偏磁和主電路引起的偏磁以及偏磁對逆變器的影響,其中控制系統所
2009-08-13 10:56:39
35 隨著電子管機的升溫,不少動手派發燒友焊機圓夢,他們碰到的困難就是輸出變壓器的設制,筆者玩電子管多年,有不少電子管機朋友,他們也同樣碰到這方面的疑問,針對以上
2009-10-14 09:21:15
37 輸出變壓器的簡易測試:很詳細很管用的測試方法。
2009-10-14 09:23:43
21 彩顯行輸出變壓器的工作原理:校正集成電路IC261(SAM9222G的24腳是復合校正信號輸出端,28腳是行幅調節輸出端,兩調節信號一齊并送到行掃描的脈寬調制集成IC402的誤差輸入端2腳
2009-10-18 09:44:55
105 如何快速判斷彩顯行輸出變壓器的好壞:把萬用表置電流擋,串接二次電源輸出端和行輸出變壓器的初級繞組回路上,首和無測出行輸出的工作電流,設該電流為11,然后用一根20CM長
2009-10-18 09:46:53
67 單端音頻輸出變壓器磁縫的業余調測:單端音頻輸出變壓器鐵芯都留有磁縫,磁縫大小直接影響鐵芯磁路的工作點。工作點過高淵磁縫過小),小音量聽音還可以,音量稍大,信號的正
2009-11-16 23:24:57
69 單端音頻輸出變壓器磁縫的業余調測:單端音頻輸出變壓器鐵芯都留有磁縫,磁縫大小直接影響鐵芯磁路的工作點。工作點過高淵磁縫過小),小音量聽音還可以,音量稍大,信號的正
2009-11-16 23:24:58
24 膽機輸出變壓器的設計與工藝:輸出變壓器是膽機的重要組成部分,放的音頻信號通過的最后一關.其品質的優劣,直接影響到輸出信號的頻率特性和非線性失真 現在市場上不易買到
2009-11-27 11:51:50
149 膽機輸出變壓器的設計與工藝的商榷:貴刊今年第3期第5頁刊登的《“膽機”輸出變壓器的設計與工藝》一文, 有些問題值得商榷。1.正文左列第14行倒數第5個字開始,即 M 為中心頻
2009-11-27 11:56:33
49 膽機輸出變壓器的阻抗:特寫信向編輯請教。買電源濾波器之前看了貴刊的幾篇相關文章,注意到文中特別說使用電源濾波器一定要有良好的接地,否則效果會大打折扣。我專門觀察
2009-11-29 17:10:34
69 用C型鐵芯制作單端推挽兩用膽機輸出變壓器:用C型鐵芯繞制輸出變壓器.似乎觸犯了膽機發燒的大忌。綜觀膽機輸出變壓器的眾多論述.筆者沒有發現一篇說C型鐵芯“好話 的文章。
2009-12-02 08:29:06
128 無直流通過輸出變壓器的單管甲類膽機:用三扳管做單管甲類怛機,閉輸出變壓器中流的直流電流大,漆包線直徑粗,因此直流融通就大 為了減小磁飽和,需加天鐵芯.田札l 中加再
2009-12-02 15:16:37
54 決定膽機高保真單端輸出變壓器性能的重要參數及對策:膽機放大器持續至今,且能在音頻領域占有一席之地,靠的是什么呢?筆者認為主要是膽管獨有的音色表現,人們欣賞它,可以
2009-12-02 16:36:06
81 給出了一款R型輸出變壓器的設計,它的L1/Ls之比達到1.14×104,簡要討論了磁路氣晾對初級電感量的影響,測得了頻響曲線。
2009-12-03 08:54:42
41 膽機靚音先斗牛:一部膽機質量的好壞,六成“ 上取決于“牛” 的素質— — 電源變壓器及輸出變壓器 “牛”在膽機中的地位好似人的咽喉與心臟,好的“牛”能使膽機音質完美,
2009-12-09 08:28:57
125 高保真電子管功放輸出變壓器的精確設計計算法:hi—end電子管功放音質優美綿厚,影響其音質的關鍵部件是輸出變壓器的電聲性能,成為系統的喉舌。提出了一個新的方法,改變了
2009-12-09 08:38:44
339 正激變換器中變壓器的設計
摘 要:詳細介紹了高頻開關電源中正激變換器變壓器的設計方法。按照設計方法,設計出一臺高頻開關電源變壓器,用
2009-12-10 11:38:35
82 電子管功放雙C型輸出變壓器實驗報告:在高保真電子管功放中,輸出變壓器被喻為“瓶頸”和“靈魂”。主要表現在對功放整體音色的影響深度及昂貴的價格上。探索它的奧秘不但充
2009-12-11 08:27:24
135 輸出變壓器(output transformer)是電子管功率放大器中的一個重要元件,整個放大器的工作性能與輸出變壓器的質量有著極大的關系。輸出變壓器的作用是把聲頻功率放大器的輸出功率作
2009-12-12 08:17:56
122 4.2.1單端正激直流變換器 帶輸出變壓器的單端正激(Forward)直流變換器的主電路原理圖如圖4-19 所示。由下面的分析可看出,該電路實際上是在 Buck 電路中加入了變壓器,許多特
2010-08-08 14:57:50
37 自制電子管功放的最大困難莫過于繞制輸出變壓器和加工底盤。輸出變壓器的素質是決定功放音質的關鍵所在,而自制一個高質量的輸出變壓器是相當困難的。本人經過反復試驗,
2006-04-16 23:04:44
3847
電視機行輸出變壓器
2006-04-17 22:20:48
4040 無輸出變壓器推挽電路圖應用電路,揚聲器的阻抗為400歐,采用這一電路時完全不需要輸出變壓器,但必須代之以音圈阻抗為400歐的特殊揚聲器
2007-11-25 11:56:40
2156 
長虹各形行輸出變壓器引腳功能對照表
2008-01-25 12:46:43
4640
不用輸出變壓器的輸出電路
2008-04-13 11:36:23
1055 
Santak UPS-1000(帶輸出變壓器)的控制框圖
2008-11-04 17:37:07
3079 
6W、8無輸出變壓器放大器電路圖
2009-03-23 08:56:42
1586 
檢測行輸出變壓器電路圖
2009-05-19 13:30:25
2526 
行輸出變壓器短路檢測器電路圖
2009-05-19 13:46:14
1545 
采用變壓器次級輔助繞組的軟開關PWM三電平變換器
摘要:提出一種新型的ZVZCSPWM三電平直流變換器,在變壓器的次級側附加
2009-07-07 10:38:12
1074 
用電珠、揚聲器判別輸入、輸出變壓器電路圖
2009-07-30 18:04:05
1017 
6N9C組成的無輸出變壓器的耳機放大器(含電路圖)
2009-07-31 21:36:17
4090 
行輸出變壓器改作電子點火器
2009-08-17 17:43:12
1692 
行輸出變壓器改作摩托車點火線圈
2009-08-19 18:01:43
1623 
電視機行輸出變壓器
電視機行輸出變壓器是行掃描電路的專用變壓器,是一種脈沖變壓器。它在電路中的主要作用是將行掃描電路形成的脈沖電壓通過行輸出變壓器形成高
2009-08-22 15:06:40
4808 電子管功放電路輸出變壓器的工作特性
1.輸出阻抗的三要素(1)真空管的內阻:真空管放大器的負載電阻即揚聲器的阻抗變化時,
2009-12-12 09:35:40
7109 0 引言
OTL電路,即無輸出變壓器(Output Trans-former Less)是低頻功率放大電路的重點,無論是在電路結構上還是在理論計算上,低頻特性較好的0CL和電源利用率較高的BTL
2010-08-28 10:35:31
7865 
彩電行輸出變壓器的代換原則
2010-10-13 18:03:18
2055 在維修中常常為判斷行輸出變壓器的好壞而大傷腦筋,用行輸出變壓器短路測試儀在靜態低壓下測試,失誤率較高。其他方法不僅煩瑣,失誤率也比較高,稍有不慎
2010-11-15 18:02:52
20741 一、前言
根據歷史的發展規律,當前正值高頻機型UPS替代工頻機型UPS的過渡時期,在這個時期,以前一直不被人們注意的輸出變壓器現在竟成了“搶手貨”。主要原因
2010-12-15 00:07:14
1957 
淺談電視機行輸出變壓器的檢測將淺要談談學習電視機行輸出 變壓器 的檢測必要的基本知識、基本理論和基本技能,為今后從事專業技術工作打下一定的基礎。
2011-07-25 15:10:29
62 膽機 輸出變壓器在電子管功放電路中是必不可少的,其質量好壞直接決定膽機性能,對其進行設計和計算不可掉以輕心。焊機派發燒友歷經備料、繞制、裝配、浸漆烘干等千辛萬苦,最
2011-08-24 16:42:34
359 關于電源變壓器和輸出變壓器計算器的介紹
2011-10-09 18:27:37
206 6N9C無輸出變壓器的耳機放大器電路整個線路還是比較簡單,而且,推挽線路安裝調試非常方便,基本上能夠一次成功。
2012-02-03 11:00:02
4923 
本文首先分析了逆變電源變壓器偏磁的原因,其次詳細介紹了逆變器變壓器偏磁校正方法,最后介紹了逆變電源變壓抗偏磁的措施。
2018-02-06 14:16:53
13603 
本文主要介紹了行輸出變壓器型號說明_行輸出變壓器引腳功能說明。行輸出變壓器,也叫逆程變壓器,包含低壓,高壓繞組;行回掃變壓器,俗稱高壓包,行變。是以顯像管為顯示設備的電器中,最重要的元件。它提供
2018-03-12 10:40:17
29912 
本文主要介紹了行輸出變壓器工作原理_行輸出變壓器動態檢測儀以及故障判斷方法。行輸出變壓器簡稱FBT,又稱為行回掃變壓器或行逆程變壓器,是電視機中的主要部件。行輸出變壓器是組成輸出高壓電路的重要器件
2018-03-12 11:14:10
23414 
在SPWM逆變器中必須考慮直流偏磁對輸出變壓器的不良影響,文中分析了導致偏磁的幾種主要因素:控制系統引起的偏磁,驅動電路元件參數的分散性引起的偏磁和主電路引起的偏磁以及偏磁對逆變器的影響,其中控制系統所引起的偏磁是主要因素。
2018-04-05 20:17:42
5 用C型控制變壓器改制電子管音頻輸出變壓器,Vacuum tube output transformer
關鍵字:用C型控制變壓器改制電子管音頻輸出變壓器
2018-09-20 19:01:38
5368 單端輸出機膽味濃郁,音色靚,聽感順耳,倍受膽迷青睞。而單端機功率放大器的品質與輸出變壓器的性能有著非常密切的聯系,單端輸出變壓器要克服直流磁化,鐵芯要留有氣隙,因此,單端輸出變壓器體積大,成本高,配對困難。
2018-09-27 09:58:00
22742 
本文首先介紹了行輸出變壓器的概念,其次闡述了行輸出變壓器的檢測方法。
2020-01-13 09:50:07
5888 本文主要闡述了高壓包行輸出變壓器打火處理辦法。
2020-01-13 09:56:52
4400 本文主要闡述了彩電行輸出變壓器代換方法及代換技巧。
2020-01-13 10:03:35
5186 
本文首先介紹了彩電行輸出變壓器的輸出電壓,另外還介紹了彩電行輸出變壓器故障的判斷方法。
2020-01-13 10:10:08
8464 彩電行輸出變壓器多次擊穿的原因可能有行逆程電容失效,主電壓過高!絕緣度下降導致對機殼放電,變壓器本身質量差等。
2020-01-13 10:15:44
2600 本文主要闡述了行輸出變壓器制作霓虹燈電路原理。
2020-01-13 10:22:10
5235 
直流偏磁會造成變壓器振動加劇
2020-06-23 18:10:23
4389 判斷行輸出變壓器(簡稱“行變”)是否短路的方法,已有較多的文章介紹,如有:“電壓法”、“電流法”、“代換法”,還有用專門的電路檢測,各有各的長處。
2020-08-19 09:40:40
6394 
STM1697:5VA輸出變壓器過時數據表
2021-04-17 19:03:28
9 STM1737:5VA輸出變壓器報廢數據表
2021-04-18 12:54:37
10 STM1686:5VA輸出變壓器過時數據表
2021-04-18 15:35:57
6 STM1696:5VA輸出變壓器報廢數據表
2021-04-18 15:49:30
9 STM1736:5VA輸出變壓器過時數據表
2021-04-21 15:23:45
2 RTM1686:5VA輸出變壓器報廢數據表
2021-04-22 19:50:12
10 STM1687:5VA輸出變壓器過時數據表
2021-05-11 18:56:14
1 進行耦合和阻抗匹配,一次繞組中有中心抽頭,二次繞組中沒有中心抽頭。采用輸出變壓器來進行阻抗變換,變壓器的信號頻率不同,電感線圈所呈現的阻抗也不同,線圈的電感量大圈數也就越多,每層之間分的電容也隨之增大,使高
2021-08-19 11:50:57
6176 直流偏磁變壓器建模(實用電源技術pdf)-? 直流偏磁變壓器建模,基于J-A修正理論。為直流偏磁抑制提供新的解決思路。
2021-09-27 14:35:24
28 選擇質量好的逆變輸出變壓器需要綜合考慮功率容量、效率、穩定性、保護功能和可靠性等因素。建議咨詢專業的電力工程師或從可靠的供應商購買,以獲得更好的產品質量和售后服務。
2023-08-17 15:45:23
919 輸出變壓器阻值與阻抗的換算 變壓器是用于變換電壓和電流的重要電氣設備。它們被廣泛應用于各個行業,如制造業、建筑業、醫療保健和能源等領域。在變壓器中,電流和電壓都受到一定程度的阻力和阻抗的影響,而我
2023-08-23 17:26:08
6499
評論