
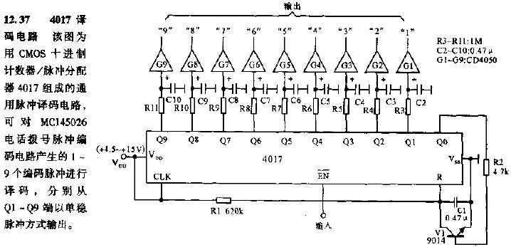
4017譯碼電路
電子發燒友App
硬聲App
完善資料讓更多小伙伴認識你,還能領取20積分哦,立即完善>
電子發燒友網>電子技術應用>電子技術>電路圖>電工基礎電路圖>4017譯碼電路
相關推薦
4167
4520
52471
14647
22819
56875
37712
109235
41
258
428
14279
422194
32
616
70
1858
9017
18350
35274
115
8343
7379
35527
36
58
43
512
784
37666
217
120
28
979
15826
426
4367
評論