資料介紹
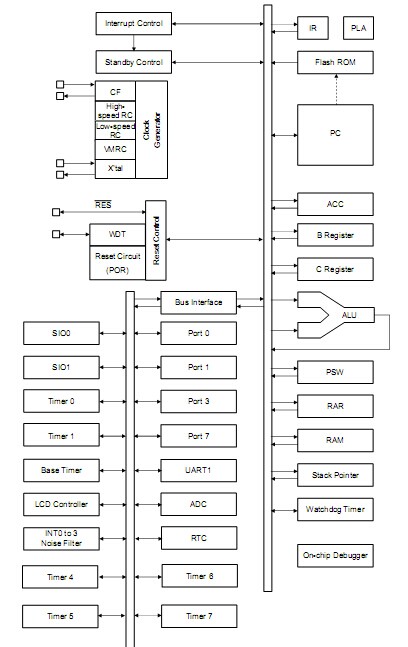
The LC87F7932B is an 8-bit microcontroller that,centered around a CPU running at a minimum bus cycle time of 250ns,integrates on a single chip a number of hardware features such as 32K-byte flash ROM (onboard programmable),2048-byte RAM,an on-chip debugger,an LCD controller/driver,two sophisticated 16-bit timers/counters (may be divided into 8-bit timers),two 16-bit timers/counters (may be divided into 8-bit timers/counters or 8-bit PWMs),four 8-bit timers with a prescaler,a real time clock function (RTC), a base timer serving as a time-of-day clock,a synchronous SIO interface with automatic transfer function,an asynchronous/synchronous SIO interface,a UART interface (full duplex),a 7-channel AD converter with a 12-/8-bit resolution selector,a high-speed clock counter,a system clock frequency divider,an internal reset circuit,and a 21-source 10-vector interrupt function.

- LC87F0K08A 8位微控制器8K字節閃存ROM/384字節RAM規格書 0次下載
- SH32F9B00高性能32位微控制器規格書
- SH32F7B00高性能32位微控制器規格書
- 微控制器STM32F103x8B中文手冊 4次下載
- 8位微控制器 -MCU ?PIC16F1503-I/SL
- 基于LC87F1MADG1AGEVK微控制器的參考設計
- 基于ARM32位的微控制器AT32F403A系列 13次下載
- EM88F711N 8位微控制器產品規格書 20次下載
- 32位基于ARM核心的微控制器SRM32F103xC系列 1次下載
- 帶CAN 控制器的單片8 位微控制器 8次下載
- 8位微控制器256K字節閃存ROM/10240字節RAM LC87F5VP6A 7次下載
- 8位單片機全速USB集成128 k字節Flash ROM和8192字節的RAM 3次下載
- 8位微控制器降低車身應用的總體成本 4次下載
- STM8S和STM32微控制器_一個完全兼容的可移植8位_32位 28次下載
- 高速8位微控制器的用武之地
- 基于MM32F0160微控制器的機械鍵盤 2.7k次閱讀
- 基于stm8系列8位通用微控制器平臺的電容式觸摸傳感方案 3.7k次閱讀
- 78K0/Ix2 8位單片微控制器的性能特性及應用方案 4.5k次閱讀
- 基于微控制器TMS320F2812和CAN收發器實現新型執行器的設計 2.1k次閱讀
- PIC18F46J50 8位USB微控制器的性能及無線開發套件的設計方案 1.9k次閱讀
- 新唐科技M031LC2AE控制器介紹 2.6k次閱讀
- 新唐科技M031KG8AE控制器 2.6k次閱讀
- 基于STM32F105微控制器的CAN接口電路設計 1.3w次閱讀
- STM32F030C8T6微控制器的主要特性介紹 4.7w次閱讀
- 飛思卡爾新款Flexis微控制器資料 5.1k次閱讀
- 可編程邏輯在微控制器中起什么關鍵作用 2k次閱讀
- LM3S9B92微控制器特性參數與Stellaris機器人評估板介紹 3k次閱讀
- 手把手教你如何選擇合適的微控制器? 7.2k次閱讀
- Silicon Labs 32 位微控制器的 10 大技術特點 1.8k次閱讀
- MAXQ614 16位微控制器芯片詳解 2.1k次閱讀
下載排行
本周
- 1TC358743XBG評估板參考手冊
- 1.36 MB | 330次下載 | 免費
- 2開關電源基礎知識
- 5.73 MB | 6次下載 | 免費
- 3100W短波放大電路圖
- 0.05 MB | 4次下載 | 3 積分
- 4嵌入式linux-聊天程序設計
- 0.60 MB | 3次下載 | 免費
- 5基于FPGA的光纖通信系統的設計與實現
- 0.61 MB | 2次下載 | 免費
- 651單片機窗簾控制器仿真程序
- 1.93 MB | 2次下載 | 免費
- 751單片機大棚環境控制器仿真程序
- 1.10 MB | 2次下載 | 免費
- 8基于51單片機的RGB調色燈程序仿真
- 0.86 MB | 2次下載 | 免費
本月
- 1OrCAD10.5下載OrCAD10.5中文版軟件
- 0.00 MB | 234315次下載 | 免費
- 2555集成電路應用800例(新編版)
- 0.00 MB | 33564次下載 | 免費
- 3接口電路圖大全
- 未知 | 30323次下載 | 免費
- 4開關電源設計實例指南
- 未知 | 21549次下載 | 免費
- 5電氣工程師手冊免費下載(新編第二版pdf電子書)
- 0.00 MB | 15349次下載 | 免費
- 6數字電路基礎pdf(下載)
- 未知 | 13750次下載 | 免費
- 7電子制作實例集錦 下載
- 未知 | 8113次下載 | 免費
- 8《LED驅動電路設計》 溫德爾著
- 0.00 MB | 6653次下載 | 免費
總榜
- 1matlab軟件下載入口
- 未知 | 935054次下載 | 免費
- 2protel99se軟件下載(可英文版轉中文版)
- 78.1 MB | 537796次下載 | 免費
- 3MATLAB 7.1 下載 (含軟件介紹)
- 未知 | 420026次下載 | 免費
- 4OrCAD10.5下載OrCAD10.5中文版軟件
- 0.00 MB | 234315次下載 | 免費
- 5Altium DXP2002下載入口
- 未知 | 233046次下載 | 免費
- 6電路仿真軟件multisim 10.0免費下載
- 340992 | 191185次下載 | 免費
- 7十天學會AVR單片機與C語言視頻教程 下載
- 158M | 183279次下載 | 免費
- 8proe5.0野火版下載(中文版免費下載)
- 未知 | 138040次下載 | 免費
電子發燒友App





創作
發文章
發帖
提問
發資料
發視頻
上傳資料賺積分
評論