参数输入:

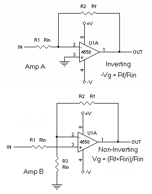
反向放大器 (A)

Rin: k Ohm
Rf: k Ohm

非反向放大器 (B)

Rin: k Ohm
Rf: k Ohm
Calculate:


输出結果 - Amp-A:
反向增益 Gain = -
输出結果 - Amp-B:
非反向增益 Gain =

Note:为了动作正常,如果使用单电源供电,非反向放的OP放大器必须与地线关联,如果V-是接地,那+输入端必需有1/2V+的压降,可以电阻分压获得。

要转换为 db值
db = (Vg)log X 20

db = 20 log Eout/Ein

(Eout/Ein)log X 20